Запчасти Komatsu PC300-7 ОСНОВН. КЛАПАН (-АКТУАТОР) (8/) Y РЕМ. КОМПЛЕКТЫ И COMPONENT

Схема запчастей Komatsu PC300-7 - ОСНОВН. КЛАПАН (-АКТУАТОР) (8/) Y РЕМ. КОМПЛЕКТЫ И COMPONENT
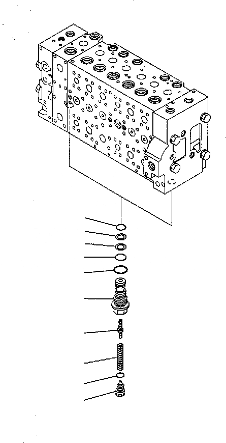
5
6
8
7
10
1
2
3
9
4
FIT
1:1
100%

Артикул

Название

Примечание

Количество

|$1

723-47-26103

CONTROL VALVE

|$2

723-47-26102

CONTROL VALVE

|$5

723-40-56900

UNLOAD VALVE ASS'Y

|$6

723-40-56600

UNLOAD VALVE ASS'Y

1

SLEEVE

2

VALVE

3

SPRING

4

PLUG

5

07000-12014

O-RING

6

723-40-56350

RING

|$13

07001-02014

RING

7

07000-12016

O-RING

8

723-60-22230

RING,BACK-UP

|$16

07001-02016

RING,BACK-UP

9

O-RING

10

07002-12434

O-RING

Выбрано товаров: 16