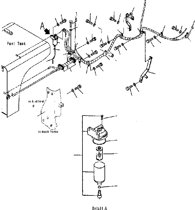
Запчасти Komatsu PC300-7 ТОПЛИВНАЯ ЛИНИЯ (WATOR SEPARATOR) D ТОПЛИВН. БАК. AND КОМПОНЕНТЫ

Схема запчастей Komatsu PC300-7 - ТОПЛИВНАЯ ЛИНИЯ (WATOR SEPARATOR) D ТОПЛИВН. БАК. AND КОМПОНЕНТЫ
35
39
40
41
42
43
44
23
37
23
24
25
23
20
10
14
8
9
1
7
6
18
19
26
27
30
31
29
32
31
30
21
22
17
16
15
33
34
12
13
11
2
4
3
1
5
38
39
28
FIT
1:1
100%

Артикул

Название

Примечание

Количество

1

22U-04-21131

WATER SEPARATOR

2

07000-11006

O-RING

3

07000-11007

O-RING

4

07000-12065

O-RING

5

22U-04-21260

ELEMENT

6

01010-81030

BOLT

7

01643-31032

WASHER

8

07270-00630

TUBE

9

07285-00080

CLIP

10

150-95-27160

GROMMET

11

207-04-71220

BRACKET

12

01010-81230

BOLT

13

01643-31232

WASHER

14

04434-51612

CLIP

15

01010-81225

BOLT

16

01643-31232

WASHER

17

04435-51812

CLIP

18

01010-81225

BOLT

19

01643-31232

WASHER

20

08036-03014

CLIP

21

01010-81220

BOLT

22

01643-31232

WASHER

23

08036-03014

CLIP

24

01010-81225

BOLT

25

01643-31232

WASHER

26

01010-81245

BOLT

27

01643-31232

WASHER

28

195-33-11220

SPACER

29

207-04-71151

BRACKET

30

01010-81230

BOLT

31

01643-31232

WASHER

32

08036-03014

CLIP

33

01010-81225

BOLT

34

01643-31232

WASHER

35

207-04-71161

BRACKET

36

01010-81245

BOLT

37

01643-31232

WASHER

38

08036-03014

CLIP

39

01010-81225

BOLT

40

01643-31232

WASHER

41

04435-51612

CLIP

42

01010-81225

BOLT

43

01643-31232

WASHER

44

08034-40521

BAND

Выбрано товаров: 44