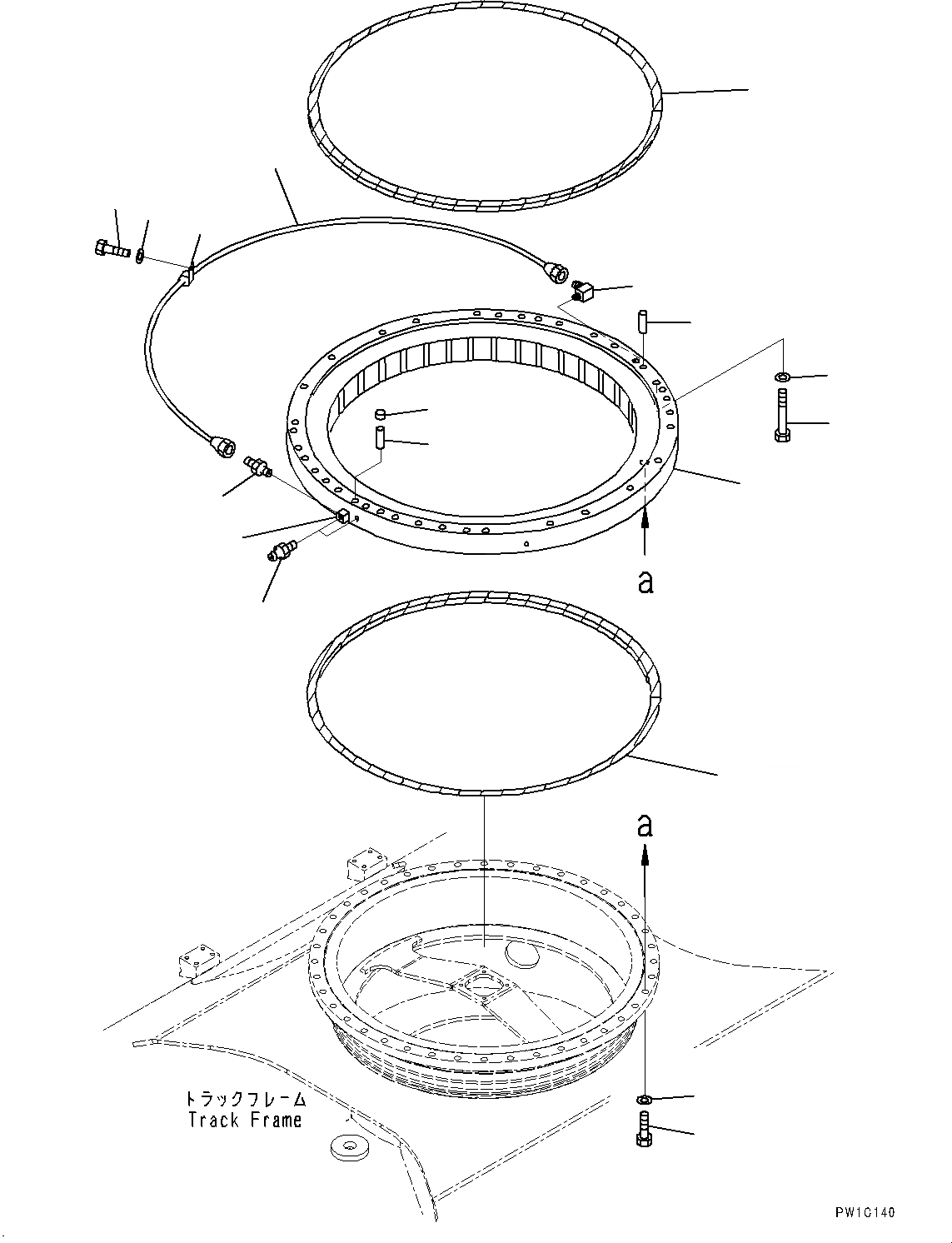
Запчасти Komatsu PC300-8 ПОВОРОТН. КРУГ (№77-) ПОВОРОТН. КРУГ, WEBASTO ОБОГРЕВАТЕЛЬ.

Схема запчастей Komatsu PC300-8 - ПОВОРОТН. КРУГ (№77-) ПОВОРОТН. КРУГ, WEBASTO ОБОГРЕВАТЕЛЬ.
1
2
4
5
6
10
15
16
9
7
6
13
14
12
8
11
3
2
FIT
1:1
100%

Артикул

Название

Примечание

Количество

1

207-25-61700

Swing Circle

2

207-25-61170

Seal

3

205-25-71280

Nipple

4

207-25-31180

Bolt

5

01643-72460

Washer

6

04020-01842

Pin, Dowel

7

20Y-46-21520

Cap

8

207-25-62110

Tube

9

20Y-25-11270

Elbow

10

07020-00000

Fitting, Grease

11

07214-50813

Connector

12

08036-00814

Clip

13

01010-81020

Bolt

14

01643-31032

Washer

15

207-25-75110

Bolt

16

01643-72460

Washer

Выбрано товаров: 16