Запчасти Komatsu PC300-8M0 СИСТЕМА ОХЛАЖДЕНИЯ, КОЖУХ (/) (№8-) СИСТЕМА ОХЛАЖДЕНИЯ, С АВТОМАТИЧ. КОНДИЦ. ВОЗДУХА

Схема запчастей Komatsu PC300-8M0 - СИСТЕМА ОХЛАЖДЕНИЯ, КОЖУХ (/) (№8-) СИСТЕМА ОХЛАЖДЕНИЯ, С АВТОМАТИЧ. КОНДИЦ. ВОЗДУХА
1
2
3
4
5
6
7
8
9
10
11
12
13
1
1
1
2
3
5
4
4
5
2
2
3
3
4
5
FIT
1:1
100%

Артикул

Название

Примечание

Количество

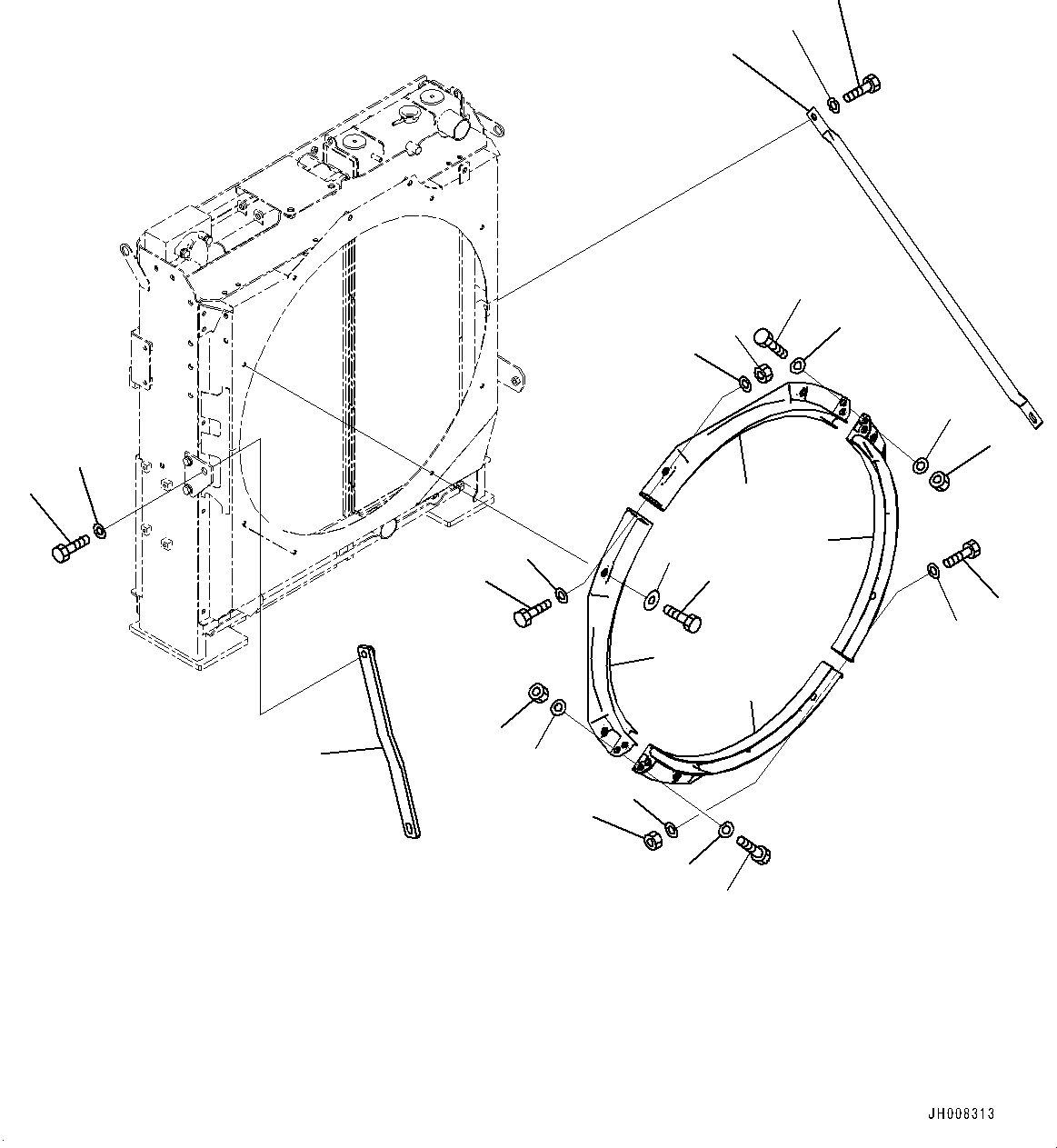
1

207-03-42310

Shroud

2

01010-81035

Bolt

3

01643-31032

Washer

4

01596-01009

Nut, Flanged

5

01643-31032

Washer

6

203-54-56970

Washer

7

01010-81030

Bolt

8

207-03-71211

Stay

9

01010-81640

Bolt

10

01643-31645

Washer

11

207-03-72790

Stay

12

01010-81635

Bolt

13

01643-31645

Washer

Выбрано товаров: 13