Запчасти Komatsu PC300-8M0 ТОПЛИВН. БАК. (EXTRA BAD ТОПЛИВН. И ПЛОХ. ТОПЛИВО СПЕЦ-ЯIFICATION, ВОДН.+DUST, БОЛЬШ. ТОПЛИВН. PREФИЛЬТР.) D [ТОПЛИВН. СИСТЕМА]

Схема запчастей Komatsu PC300-8M0 - ТОПЛИВН. БАК. (EXTRA BAD ТОПЛИВН. И ПЛОХ. ТОПЛИВО СПЕЦ-ЯIFICATION, ВОДН.+DUST, БОЛЬШ. ТОПЛИВН. PREФИЛЬТР.) D [ТОПЛИВН. СИСТЕМА]
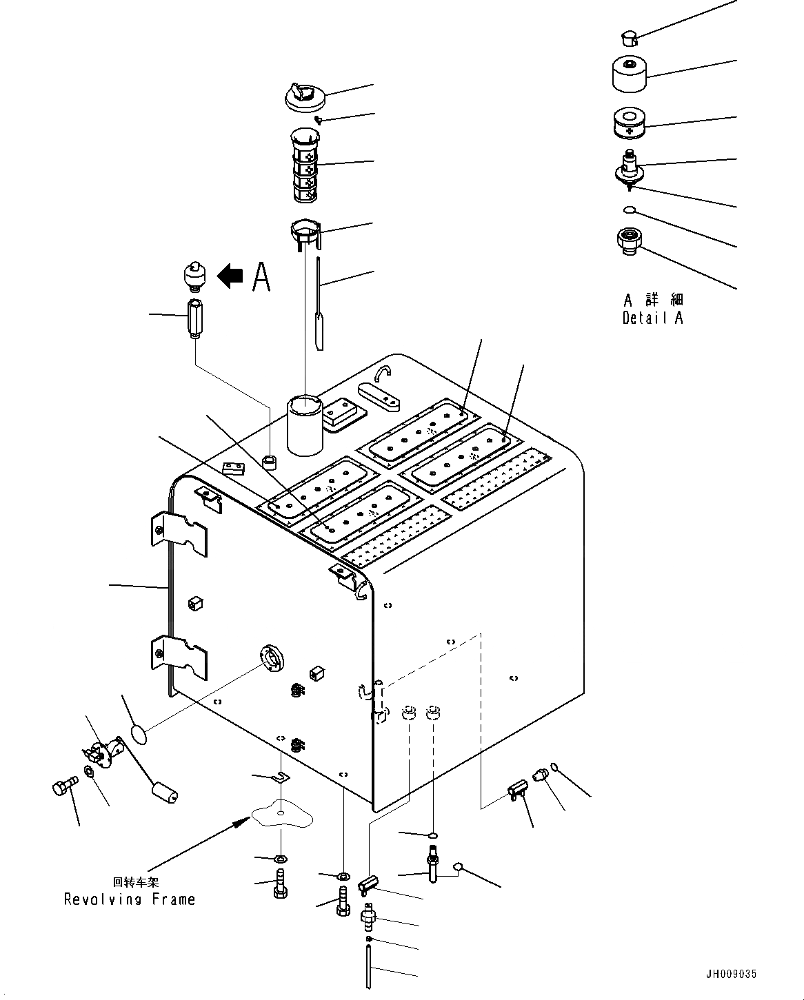
11
10
16
22
9
15
24
13
21
14
23
12
8
29
29
29
29
1
18
17
32
4
20
3
6
2
19
31
31
5
30
7
25
30
26
27
28
FIT
1:1
100%

Артикул

Название

Примечание

Количество

1

207-04-78111

TANK

2

07700-50455

VALVE,FUEL DRAIN

3

8255-62-4591

CONNECTOR

4

02896-11012

O-RING

5

207-04-75390

ELBOW

6

07002-12034

O-RING

7

02896-11009

O-RING

8

154-04-72220

ADAPTER

-

22U-60-21520

BREATHER

9

421-60-35170

ELEMENT

10

421-60-35180

COVER

11

421-60-35190

NUT

12

BODY

13

VALVE ASSEMBLY

14

O-RING

15

CASE

16

423-04-11362

CAP

-

417-04-21230

PACKING

17

7861-92-5810

SENSOR

18

07000-13050

O-RING

19

01010-80612

BOLT

20

01643-30623

WASHER

-

22U-04-21241

STRAINER ASSEMBLY

-

22U-04-21200

FLOAT ASSEMBLY

21

22U-04-21210

GUIDE

22

20Y-04-21580

CAP

23

22U-04-21220

FLOAT

24

07056-18425

STRAINER

25

07700-50240

VAVLE

26

154-04-11540

NIPPLE

27

07270-01007

TUBE

28

07285-00115

CLIP

29

20Y-00-42110

PLATE

30

01010-81635

BOLT

31

01643-31645

WASHER

32

195-03-11570

SHIM, T=1.0MM

Выбрано товаров: 36