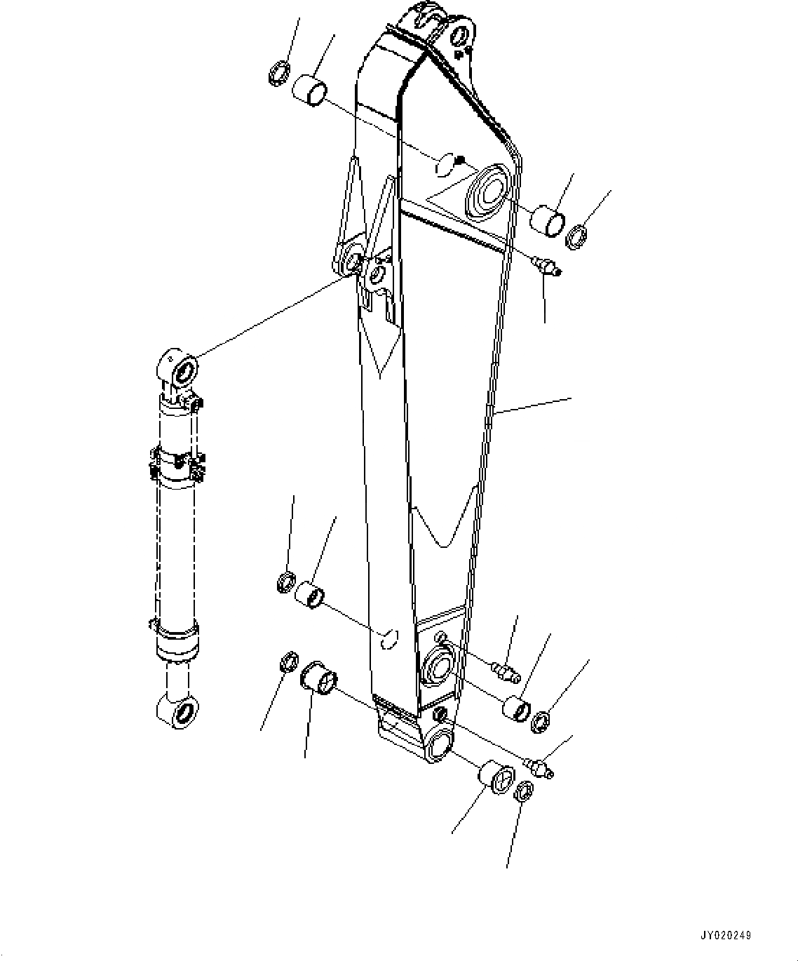
Запчасти Komatsu PC300-8M0 РУКОЯТЬ (MM УСИЛЕНН. РУКОЯТЬ, ЧАС. СМАЗКА INTERVAL) T [РАБОЧЕЕ ОБОРУДОВАНИЕ]

Схема запчастей Komatsu PC300-8M0 - РУКОЯТЬ (MM УСИЛЕНН. РУКОЯТЬ, ЧАС. СМАЗКА INTERVAL) T [РАБОЧЕЕ ОБОРУДОВАНИЕ]
6
2
2
6
5
1
7
3
7
3
5
5
7
4
4
7
FIT
1:1
100%

Артикул

Название

Примечание

Количество

-

207-70-01420

ARM A.

1

207-70-D7420

ARM

2

207-70-D9860

BUSHING

3

207-70-32150

BUSHING

4

207-70-72460

BUSHING

5

07020-00000

FITTING

6

07145-00110

SEAL

7

207-70-72120

SEAL

Выбрано товаров: 8