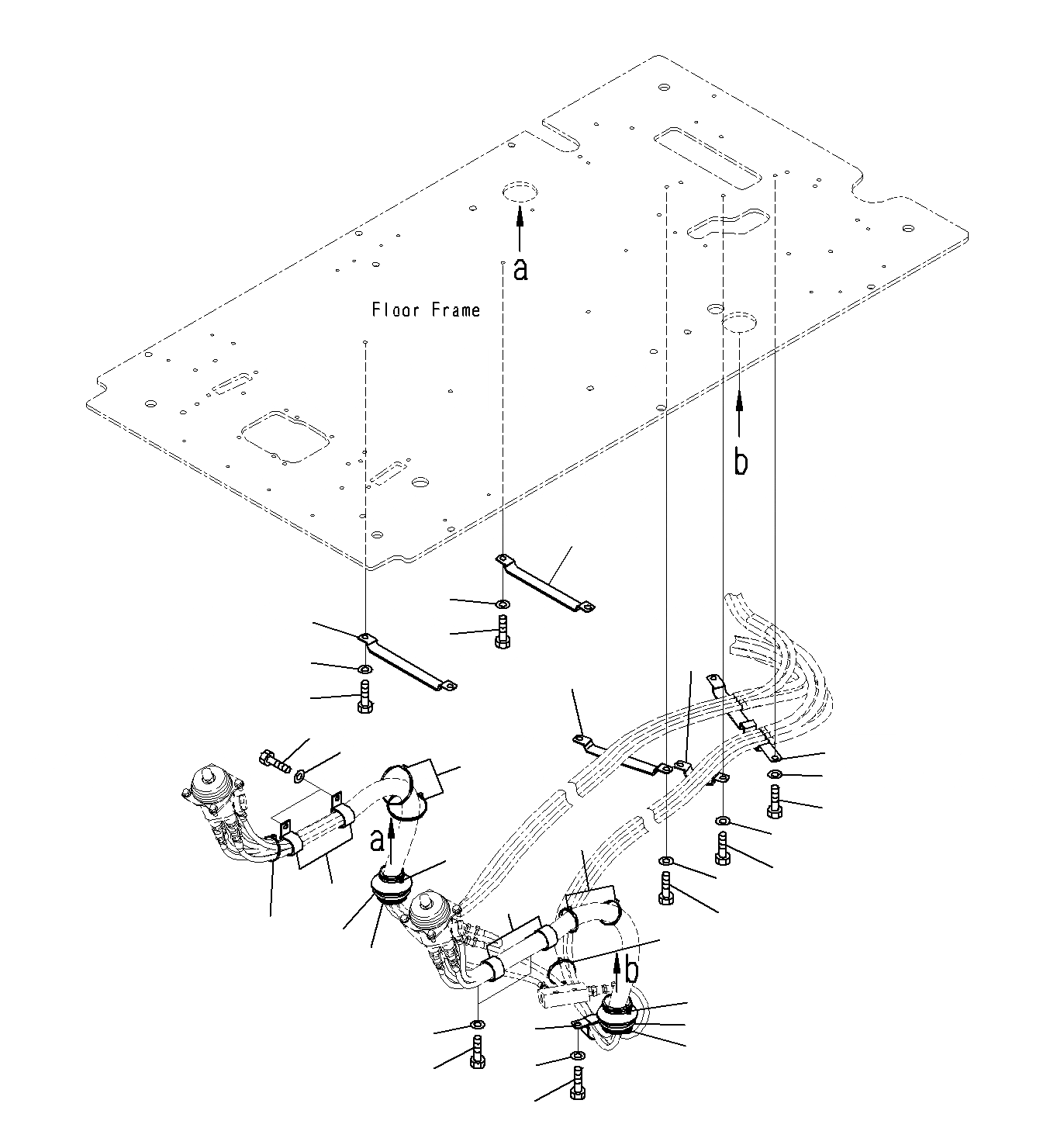
Запчасти Komatsu PC300-8M0 КАБИНА (ПОЛ, ТРУБЫ КРЕПЛЕНИЕ) K

Схема запчастей Komatsu PC300-8M0 - КАБИНА (ПОЛ, ТРУБЫ КРЕПЛЕНИЕ) K
16
18
16
17
25
18
22
17
11
12
19
13
21
20
6
27
15
26
24
10
1
23
13
28
14
15
4
5
7
3
4
9
2
8
FIT
1:1
100%

Артикул

Название

Примечание

Количество

1

208-06-19170

CLIP

2

01010-81025

BOLT

3

01643-31032

WASHER

4

08034-20536

BAND

5

208-43-41111

GROMMET

6

08034-20536

BAND

7

208-06-19170

CLIP

8

01010-81020

BOLT

9

01643-31032

WASHER

10

04434-53411

CLIP

11

01010-81025

BOLT

|$12

01010-81020

BOLT

12

01643-31032

WASHER

13

08034-20536

BAND

14

208-43-41111

GROMMET

|$16

2A5-43-11441

GROMMET

15

08034-20536

BAND

16

20Y-62-27770

CLAMP

17

01010-81016

BOLT

18

01643-31032

WASHER

19

2A5-62-13811

CLAMP

20

01010-81016

BOLT

21

01643-31032

WASHER

22

2A5-62-13820

CLAMP

23

01010-81016

BOLT

24

01643-31032

WASHER

25

2A5-62-13831

CLAMP

26

01010-81016

BOLT

27

01643-31032

WASHER

28

08034-20536

BAND

Выбрано товаров: 30