Качественные детали и логистика
Оригинальные и аналоговые запчасти с доставкой по России, Казахстану и Беларуси
©2022 PartSell ООО "Система" ИНН 2463123282 ОГРН 1212400004838
Центральный офис: г. Красноярск, Академика Киренского, д.87, пом.4
Телефон: 8 (800) 777-65-74 Email: zakaz@partsell.ru
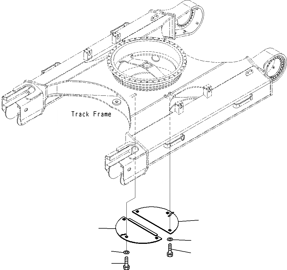
ГУСЕНИЧНАЯ РАМА НИЖН. КРЫШКА
№
Артикул
Название
Примечание
Количество
1
20Y-97-32220
COVER
2
20Y-97-32230
3
01010-81235
BOLT
4
20Y-54-12670
WASHER
|$5
01643-31232
Выбрано товаров: 0