Запчасти Komatsu PC300 КОНТРОЛЬ КЛАПАН УПРАВЛ-Е РАБОЧИМ ОБОРУДОВАНИЕМ

Схема запчастей Komatsu PC300 - КОНТРОЛЬ КЛАПАН УПРАВЛ-Е РАБОЧИМ ОБОРУДОВАНИЕМ
FIT
1:1
100%

Артикул

Название

Примечание

Количество

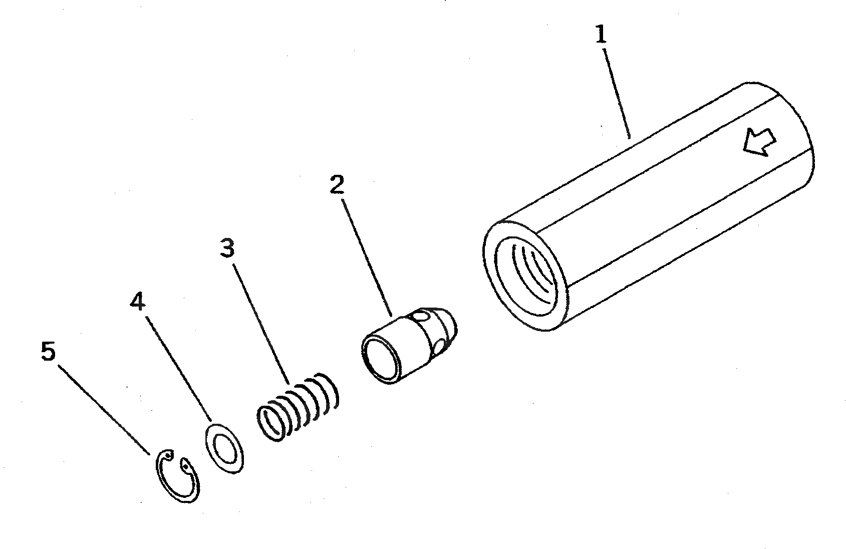
1

205-60-64290

BODY

2

205-60-51390

POPPET

3

205-60-51410

SPRING

4

205-60-51420

SEAT

5

04065-01410

RING

Выбрано товаров: 5