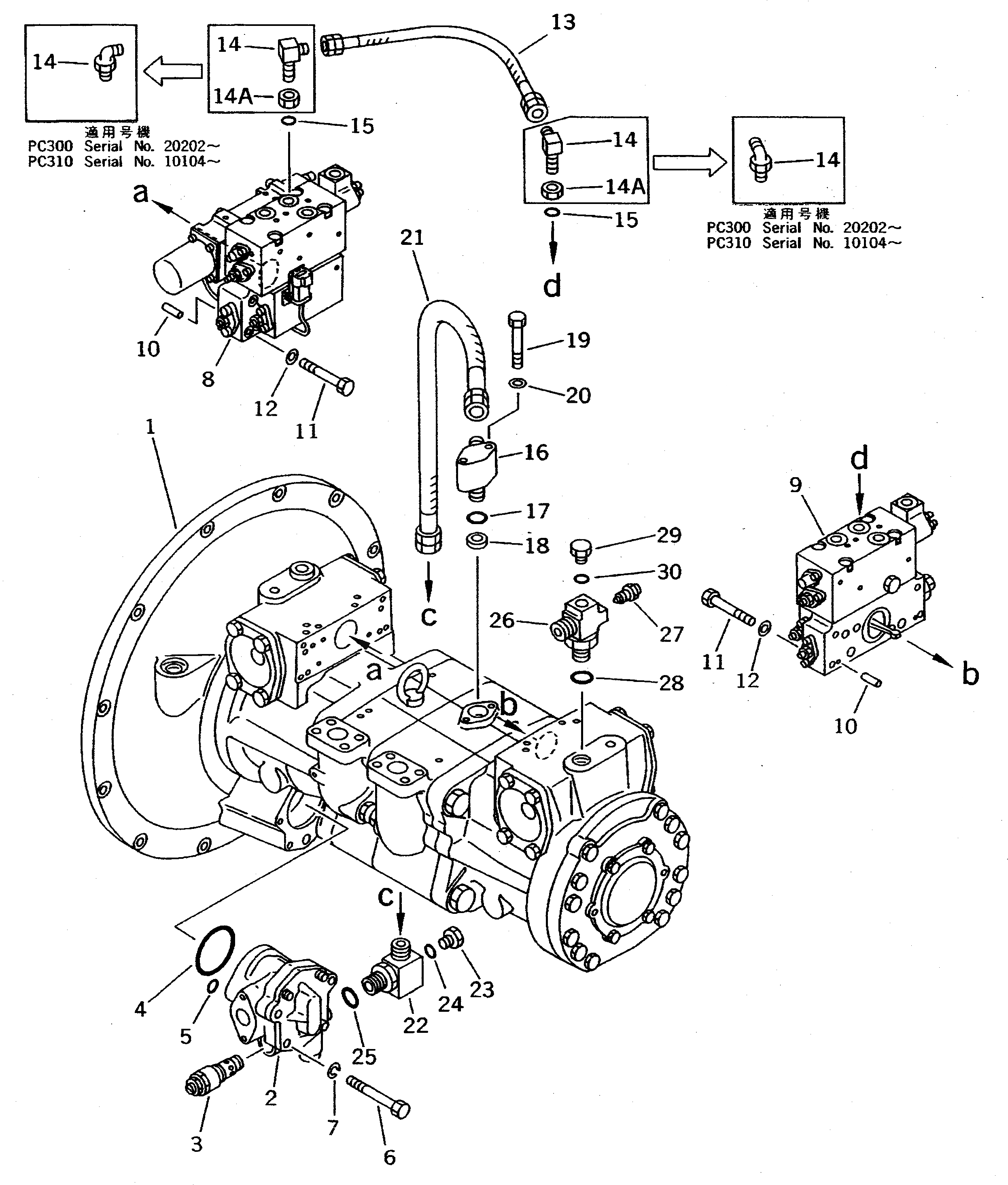
Запчасти Komatsu PC300 ГИДР. НАСОС. (/) (БЛОК) УПРАВЛ-Е РАБОЧИМ ОБОРУДОВАНИЕМ

Схема запчастей Komatsu PC300 - ГИДР. НАСОС. (/) (БЛОК) УПРАВЛ-Е РАБОЧИМ ОБОРУДОВАНИЕМ
FIT
1:1
100%

Артикул

Название

Примечание

Количество

|$0

708-27-04013

HYDRAULIC PUMP ASS'Y

|$1

708-27-04012

HYDRAULIC PUMP ASS'Y

|$2

708-27-04011

HYDRAULIC PUMP ASS'Y

1

708-27-04113

PUMP ASS'Y

1

708-27-04112

PUMP ASS'Y

1

708-27-04111

PUMP ASS'Y

2

704-23-30601

PUMP ASS'Y

3

708-27-04311

RELIEF VALVE ASS'Y

3

708-27-04310

RELIEF VALVE ASS'Y

4

07000-02075

O-RING

5

07000-02020

O-RING

6

01011-51010

BOLT

7

01602-01030

WASHER,SPRING

8

708-27-08111

SERVO VALVE ASS'Y,FRONT

9

708-27-08211

SERVO VALVE ASS'Y,REAR

10

04020-00616

PIN,DOWEL

11

708-25-19130

BOLT

12

01602-00825

WASHER,SPRING

13

07102-20203

HOSE

14

07235-10210

ELBOW

14

07232-20210

ELBOW

14A

07239-11408

NUT

15

07002-01423

O-RING

16

708-27-14210

ELBOW

17

07000-02021

O-RING

18

720-68-15240

FILTER

19

01010-50855

BOLT

20

01643-30823

WASHER

21

07102-20505

HOSE

22

207-62-33710

TEE

23

07040-11409

PLUG

24

07002-01423

O-RING

25

07002-02434

O-RING

26

207-62-31770

TEE

27

20B-27-11210

BLEEDER

28

07002-02434

O-RING

29

07040-11409

PLUG

30

07002-01423

O-RING

Выбрано товаров: 38