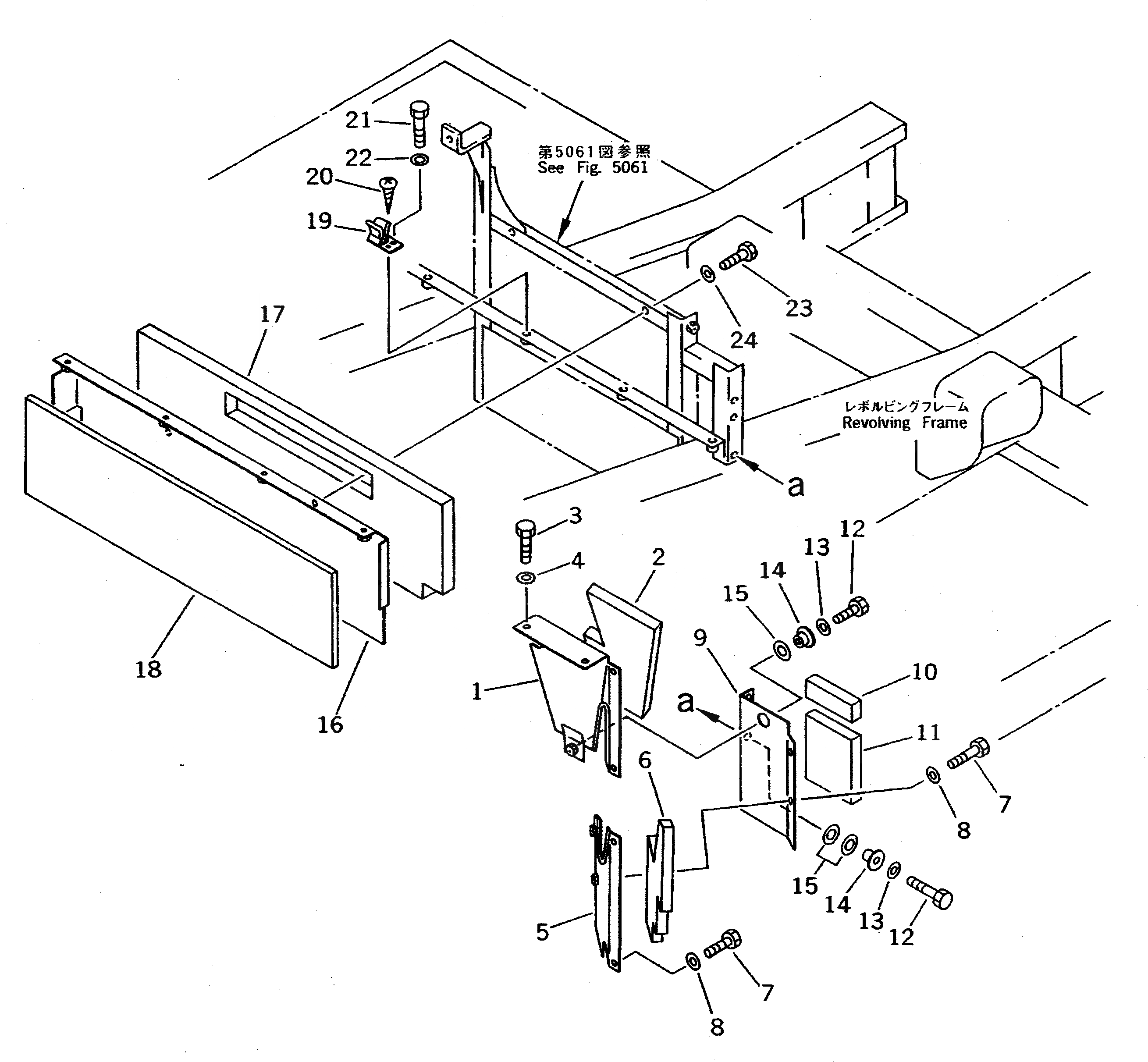
Запчасти Komatsu PC300 ПЕРЕГОРОДКА ЧАСТИ КОРПУСА

Схема запчастей Komatsu PC300 - ПЕРЕГОРОДКА ЧАСТИ КОРПУСА
FIT
1:1
100%

Артикул

Название

Примечание

Количество

1

207-54-51841

COVER

2

207-54-51671

SHEET

3

01010-51230

BOLT

4

01643-31232

WASHER

5

207-54-52280

COVER

6

207-54-52290

SHEET

7

01010-51230

BOLT

8

01643-31232

WASHER

9

207-54-51580

COVER

10

207-54-51990

SHEET

11

207-54-51590

SHEET

12

01010-51230

BOLT

13

01643-31232

WASHER

14

20Y-54-12822

COLLAR

14

20Y-54-12822

COLLAR

15

20Y-54-12990

PLATE

15

20Y-54-12990

PLATE

16

207-54-51281

COVER

17

207-54-51451

SHEET

18

207-54-51540

SHEET

19

207-54-51550

CATCHER

20

01370-00512

SCREW

21

01010-51230

BOLT

22

01643-31232

WASHER

23

01010-51230

BOLT

24

01643-31232

WASHER

Выбрано товаров: 26