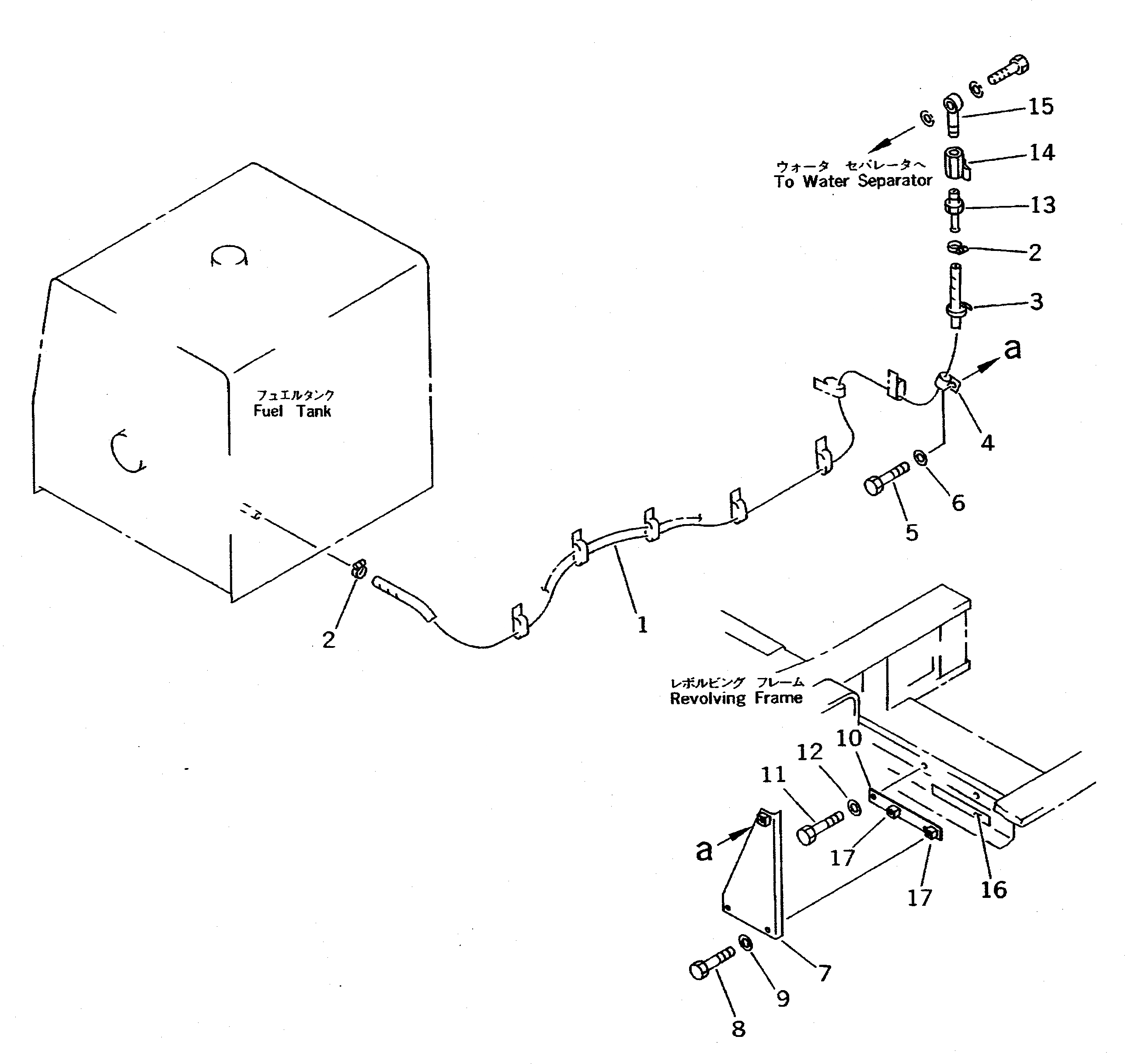
Запчасти Komatsu PC300HD-5K ТОПЛИВНАЯ ЛИНИЯ (PRE ФИЛЬТР.¤ ВОДООТДЕЛИТЕЛЬ)(№-) КОМПОНЕНТЫ ДВИГАТЕЛЯ И ЭЛЕКТРИКА

Схема запчастей Komatsu PC300HD-5K - ТОПЛИВНАЯ ЛИНИЯ (PRE ФИЛЬТР.¤ ВОДООТДЕЛИТЕЛЬ)(№-) КОМПОНЕНТЫ ДВИГАТЕЛЯ И ЭЛЕКТРИКА
FIT
1:1
100%

Артикул

Название

Примечание

Количество

1

07288-01037

HOSE

2

07281-00197

CLAMP

3

08034-00519

BAND

4

04434-51612

CLIP

5

01010-51225

BOLT

6

01643-31232

WASHER

7

207-04-51240

BRACKET

8

01010-51225

BOLT

9

01643-31232

WASHER

10

207-04-51230

BRACKET

11

01010-51225

BOLT

12

01643-31232

WASHER

13

154-04-11540

NIPPLE

14

07700-40240

VALVE

15

205-04-62140

JOINT

16

6712-81-8620

PLATE¤ CAUTION,(ENGLISH)

17

01572-21225

SEAT (WELDED)

Выбрано товаров: 17