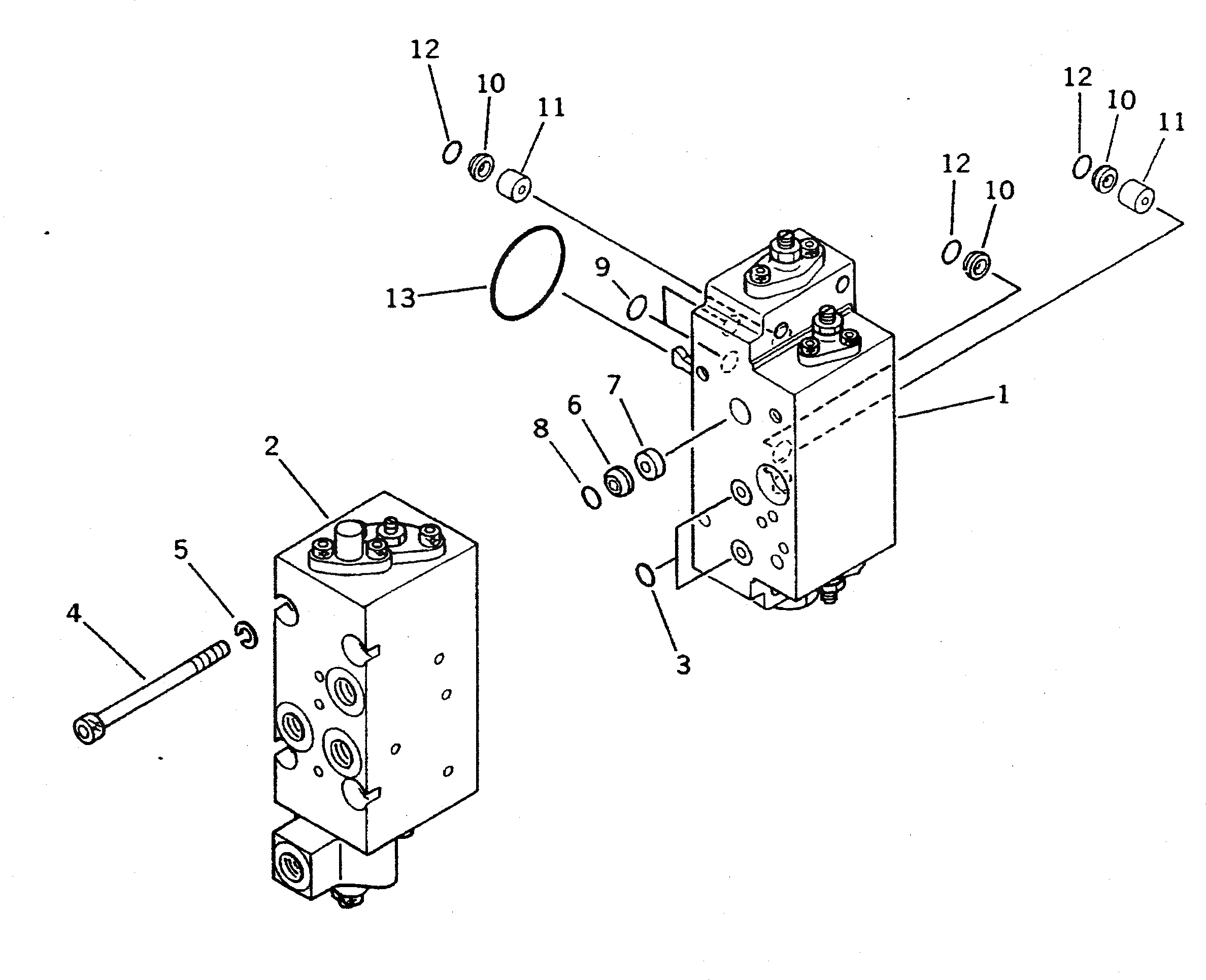
Запчасти Komatsu PC300HD-5K ГИДР. НАСОС. (/) (СЕРВОКЛАПАН¤ ЗАДН.) (/) УПРАВЛ-Е РАБОЧИМ ОБОРУДОВАНИЕМ

Схема запчастей Komatsu PC300HD-5K - ГИДР. НАСОС. (/) (СЕРВОКЛАПАН¤ ЗАДН.) (/) УПРАВЛ-Е РАБОЧИМ ОБОРУДОВАНИЕМ
FIT
1:1
100%

Артикул

Название

Примечание

Количество

|1

708-27-04013

HYDRAULIC PUMP ASS'Y

|1

708-27-08211

SERVO VALVE ASS'Y,REAR

1

708-27-08411

SERVO VALVE SUB A.

2

708-27-08611

VALVE ASS'Y,CO AND NC

3

07000-02011

O-RING

4

708-25-19160

BOLT

5

01602-20825

WASHER,SPRING

6

720-68-11920

FILTER

7

708-25-19191

ORIFICE

8

07000-12010

O-RING

9

07000-11009

O-RING

10

720-68-11920

FILTER

11

708-25-19150

ORIFICE

12

07000-12010

O-RING

13

07000-03048

O-RING

Выбрано товаров: 15