Запчасти Komatsu PC300HD-5K ЭЛЕКТРИКА (ЭЛЕКТРОПРОВОДКА) (АККУМУЛЯТОР - ДВИГАТЕЛЬ) КОМПОНЕНТЫ ДВИГАТЕЛЯ И ЭЛЕКТРИКА

Схема запчастей Komatsu PC300HD-5K - ЭЛЕКТРИКА (ЭЛЕКТРОПРОВОДКА) (АККУМУЛЯТОР - ДВИГАТЕЛЬ) КОМПОНЕНТЫ ДВИГАТЕЛЯ И ЭЛЕКТРИКА
FIT
1:1
100%

Артикул

Название

Примечание

Количество

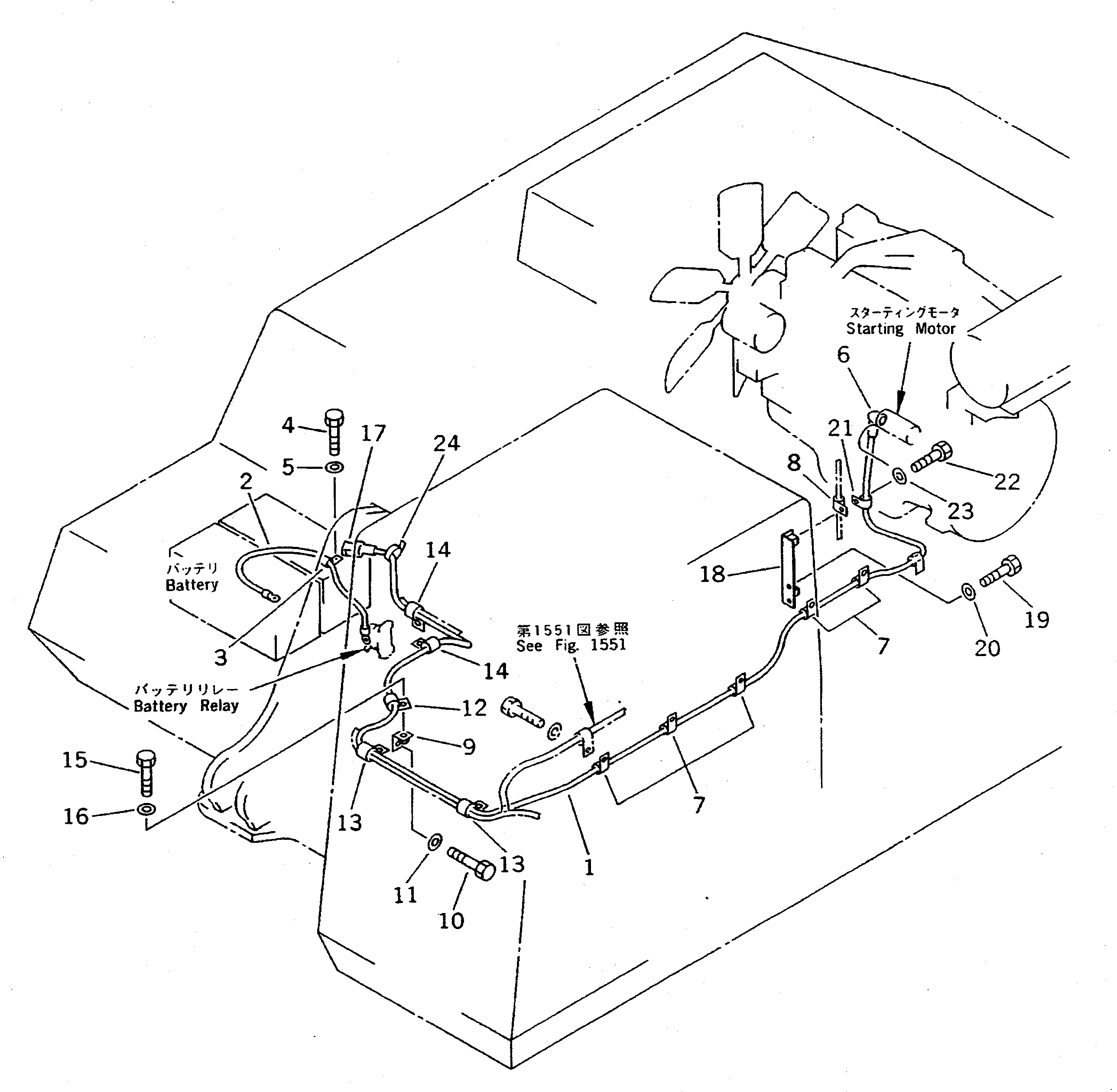
1

207-06-51450

CABLE

2

08028-44080

CABLE

3

08036-01814

CLIP

4

01010-51225

BOLT

5

01643-31232

WASHER

6

08038-00035

CAP

7

08036-01814

CLIP

8

08036-01214

CLIP

9

17M-49-15260

BRACKET

10

01010-51225

BOLT

11

01643-31232

WASHER

12

08036-03014

CLIP

13

08036-03014

CLIP

14

08036-03014

CLIP

15

01010-51225

BOLT

16

01643-31232

WASHER

17

08038-42511

CAP

|17

08038-22511

CAP

18

208-06-51370

BRACKET

19

01010-51220

BOLT

20

01643-31232

WASHER

21

08036-01814

CLIP

22

01010-51225

BOLT

23

01643-31232

WASHER

24

08034-00519

BAND

Выбрано товаров: 25