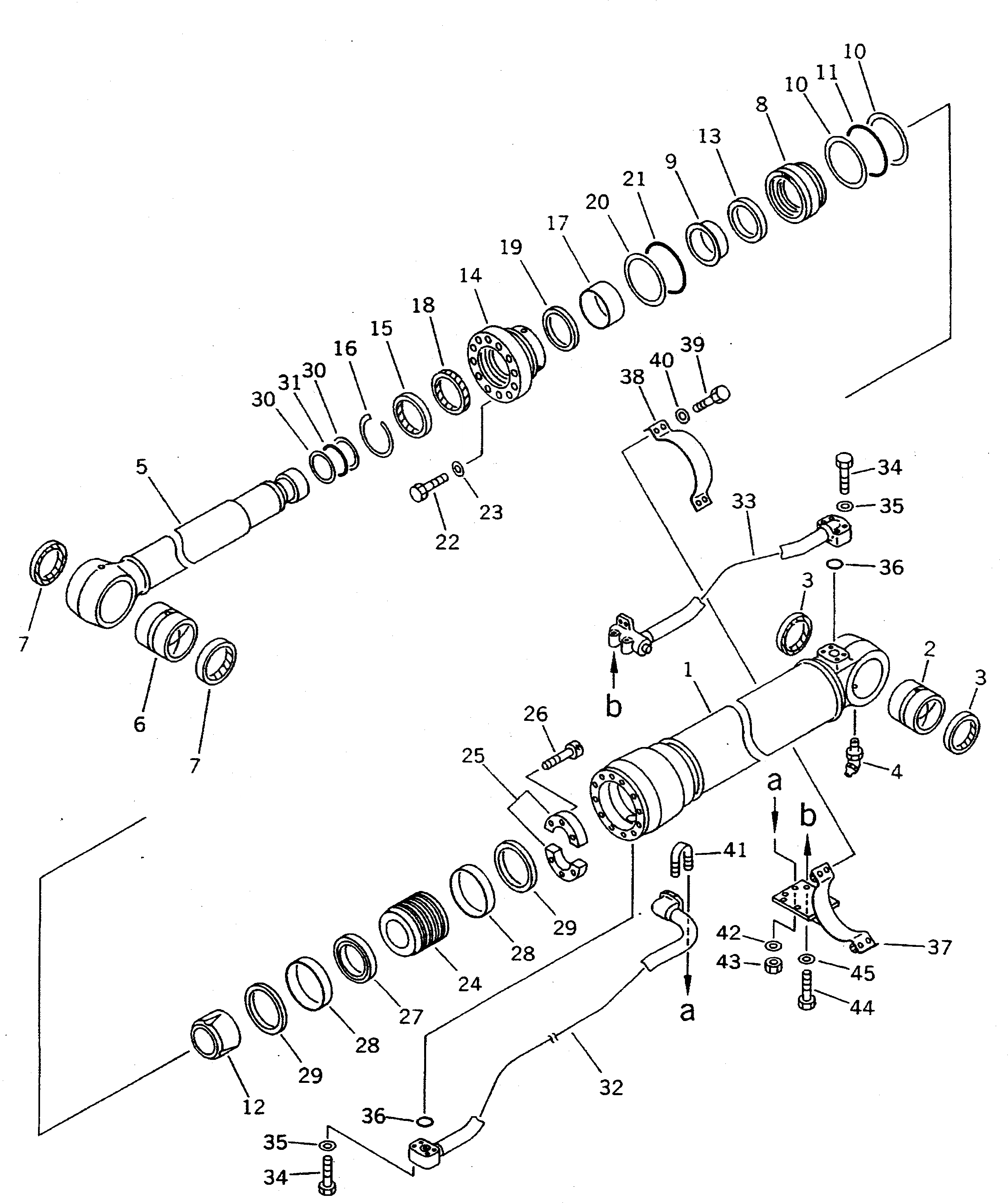
Запчасти Komatsu PC300HD-5K ЦИЛИНДР СТРЕЛЫ РАБОЧЕЕ ОБОРУДОВАНИЕ (ЭКСКАВАТ.)

Схема запчастей Komatsu PC300HD-5K - ЦИЛИНДР СТРЕЛЫ РАБОЧЕЕ ОБОРУДОВАНИЕ (ЭКСКАВАТ.)
FIT
1:1
100%

Артикул

Название

Примечание

Количество

G-1

207-63-X2100

BOOM CYLINDER GROUP,L.H.

G-1

207-63-X2110

BOOM CYLINDER GROUP,R.H.

|1

207-63-02100

BOOM CYLINDER ASS'Y

1

207-63-53140

CYLINDER

2

707-76-90180

BUSHING

3

07145-00090

SEAL,DUST (KIT)

4

07020-00675

FITTING,GREASE

5

207-63-53120

ROD

6

707-76-10130

BUSHING

7

07145-00100

SEAL,DUST (KIT)

8

707-71-31090

COLLAR

9

707-71-31081

COLLAR

10

07001-05135

RING,BACK-UP (KIT)

11

07000-15135

O-RING (KIT)

12

707-71-61020

PLUNGER

13

707-71-11040

RING

14

707-27-14630

HEAD

15

176-63-56170

SEAL,DUST (KIT)

16

07179-13114

RING,SNAP

17

707-52-90750

BUSHING

18

707-51-10030

PACKING,ROD (KIT)

19

707-51-10630

RING,BUFFER (KIT)

20

07001-05135

RING,BACK-UP (KIT)

21

07000-15135

O-RING (KIT)

22

01010-81875

BOLT

23

707-41-11840

WASHER

24

707-36-14340

PISTON

25

707-40-14870

SPACER

26

01252-31250

BOLT

27

707-44-14180

RING,PISTON (KIT)

28

707-39-14820

RING,WEAR (KIT)

29

707-44-14910

RING

30

707-35-52920

RING,BACK-UP (KIT)

31

07000-12080

O-RING (KIT)

32

207-63-53171

TUBE,L.H.

|32

207-63-53271

TUBE,R.H.

33

207-63-53181

TUBE,L.H.

|33

207-63-53281

TUBE,R.H.

34

01010-51060

BOLT

35

01643-51032

WASHER

36

07000-13035

O-RING (KIT)

37

707-88-95731

BRACKET

38

707-88-95720

BAND

39

01010-51240

BOLT

40

01643-51232

WASHER

41

07283-23442

CLIP

42

01643-31032

WASHER

43

01599-01011

NUT

44

01010-51025

BOLT

45

01643-31032

WASHER

Выбрано товаров: 50