Запчасти Komatsu PC300HD-7L H-A ОСНОВН. КЛАПАН КОРПУС ГИДРАВЛИКА

Схема запчастей Komatsu PC300HD-7L - H-A ОСНОВН. КЛАПАН КОРПУС ГИДРАВЛИКА
4
5
1
10
6
11
8
7
9
12
2
3
12
FIT
1:1
100%

Артикул

Название

Примечание

Количество

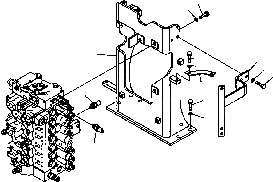
1

207-62-71111

BRACKET

2

01010-81640

BOLT

3

01643-31645

WASHER

4

01010-81645

BOLT

5

01643-31645

WASHER

6

207-62-71521

BRACKET

7

01010-81240

BOLT

8

01643-31232

WASHER

9

207-62-71930

BRACKET

10

01010-81225

BOLT

11

01643-31232

WASHER

12

7861-93-1650

SENSOR

|$12

07002-11823

O-RING

Выбрано товаров: 13