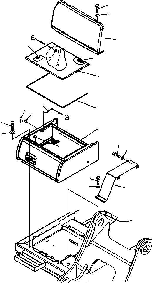
Запчасти Komatsu PC300HD-7L M-A АККУМУЛЯТОРН. ОТСЕК ЧАСТИ КОРПУСА

Схема запчастей Komatsu PC300HD-7L - M-A АККУМУЛЯТОРН. ОТСЕК ЧАСТИ КОРПУСА
12
13
1
6
5
4
10
3
9
2
15
7
14
16
17
18
19
11
8
FIT
1:1
100%

Артикул

Название

Примечание

Количество

1

207-54-71851

COVER

|$1

20Y-54-66101

CASE ASSEMBLY

2

01643-30623

WASHER

3

04050-11612

PIN

|$4

NSS

COVER

4

20Y-54-26360

COVER

5

20Y-54-29711

HINGE

6

421-54-11372

LOCK ASSEMBLY

7

NSS

COVER

8

20Y-54-29680

SHEET

9

20Y-54-29660

SEAL

10

203-54-56630

ROD

11

207-54-62320

COVER

12

01010-81230

BOLT

13

01643-31232

WASHER

14

175-54-34170

WASHER

15

01010-81230

BOLT

16

01010-81230

BOLT

17

01643-31232

WASHER

18

01010-81225

BOLT

19

01643-31232

WASHER

Выбрано товаров: 21