Качественные детали и логистика
Оригинальные и аналоговые запчасти с доставкой по России, Казахстану и Беларуси
©2022 PartSell ООО "Система" ИНН 2463123282 ОГРН 1212400004838
Центральный офис: г. Красноярск, Академика Киренского, д.87, пом.4
Телефон: 8 (800) 777-65-74 Email: zakaz@partsell.ru
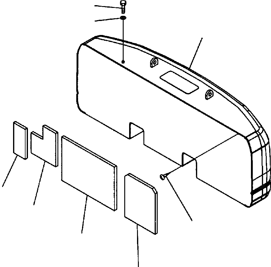
M-A ПРОТИВОВЕС POWER PLUS/SUPER УДЛИНН. РУКОЯТЬ И СТРЕЛА заводской номер A87-
№
Артикул
Название
Примечание
Количество
1
207-46-A8400
WEIGHT 7,100 KG (15,653 LB)
2
207-46-74130
SHEET
3
207-46-74140
4
207-46-74150
5
207-46-74160
6
01370-00508
SCREW
7
01010-81220
BOLT
8
01643-31232
WASHER
Выбрано товаров: 0