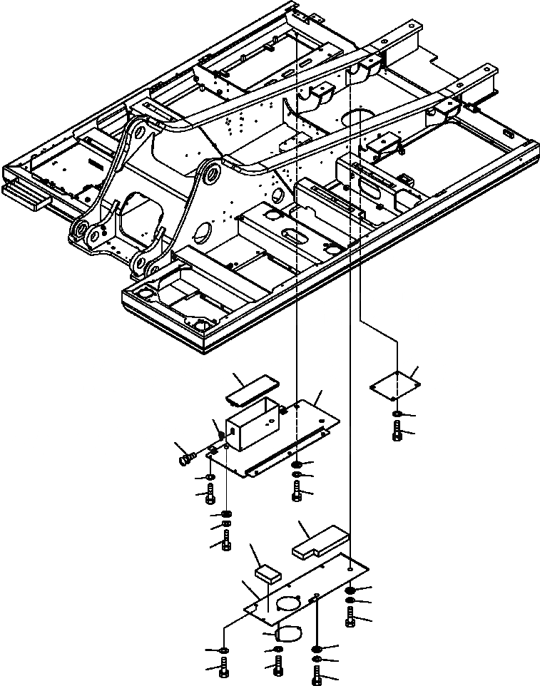
Запчасти Komatsu PC300HD-7L M8-AA НИЖН. КРЫШКА ОСНОВНАЯ РАМА - УСИЛ. ЧАСТИ КОРПУСА

Схема запчастей Komatsu PC300HD-7L - M8-AA НИЖН. КРЫШКА ОСНОВНАЯ РАМА - УСИЛ. ЧАСТИ КОРПУСА
25
15
14
16
27
17
26
22
21
19
18
20
2
22
24
3
23
1
8
7
6
11
8
10
13
5
12
9
4
FIT
1:1
100%

Артикул

Название

Примечание

Количество

1

207-54-74150

COVER

2

207-54-72380

SHEET

3

207-54-72390

SHEET

4

01010-81230

BOLT

5

01643-31232

WASHER

6

01010-81235

BOLT

7

01643-31232

WASHER

8

208-54-57180

COLLAR

9

01010-81230

BOLT

10

01643-31232

WASHER

11

207-54-51440

PLATE

12

01010-81230

BOLT

13

01643-31232

WASHER

14

207-54-74111

COVER

15

22U-54-23620

COVER

16

195-57-11530

CATCHER

17

01023-20512

SCREW

18

01010-81230

BOLT

19

01643-31232

WASHER

20

01010-81235

BOLT

21

01643-31232

WASHER

22

208-54-57180

COLLAR

23

01010-81230

BOLT

24

01643-31232

WASHER

25

20Y-54-61870

COVER

26

01010-81230

BOLT

27

01643-31232

WASHER

Выбрано товаров: 0