Запчасти Komatsu PC300HD-8 D-A ТОПЛИВН. БАК. ТОПЛИВН. БАК. AND КОМПОНЕНТЫ

Схема запчастей Komatsu PC300HD-8 - D-A ТОПЛИВН. БАК. ТОПЛИВН. БАК. AND КОМПОНЕНТЫ
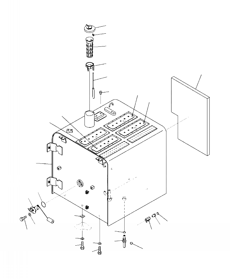
9
15
17
14
8
16
22
18
18
18
18
1
11
10
21
4
3
13
6
2
12
20
5
20
19
7
19
FIT
1:1
100%

Артикул

Название

Примечание

Количество

1

207-04-75111

TANK

2

07700-50455

VALVE

3

8255-62-4591

CONNECTOR

4

02896-11012

O-RING

5

207-04-75390

ELBOW

6

07002-12034

O-RING

7

02896-11009

O-RING

8

207-04-75310

SHEET

9

20Y-04-11161

CAP

|$9

20Y-04-11240

PACKING

10

7861-92-5810

SENSOR

11

07000-13050

O-RING

12

01010-80612

BOLT

13

01643-30623

WASHER

|$14

22U-04-21241

STRAINER ASSEMBLY

|$15

22U-04-21200

FLOAT ASSEMBLY

14

22U-04-21210

GUIDE

15

20Y-04-21580

CAP

16

22U-04-21220

FLOAT

17

07056-18425

STRAINER

18

20Y-00-42110

PLATE

19

01010-81635

BOLT

20

01643-31645

WASHER

21

195-03-11570

SHIM, 1.0 MM

22

07049-01215

PLUG

Выбрано товаров: 25