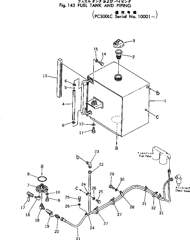
Запчасти Komatsu PC300LC-1 ТОПЛ. БАК И ТОПЛИВОПРОВОД КОМПОНЕНТЫ ДВИГАТЕЛЯ И ЭЛЕКТРИКА

Схема запчастей Komatsu PC300LC-1 - ТОПЛ. БАК И ТОПЛИВОПРОВОД КОМПОНЕНТЫ ДВИГАТЕЛЯ И ЭЛЕКТРИКА
FIT
1:1
100%

Артикул

Название

Примечание

Количество

|$0

207-04-00021

FUEL TANK ASS'Y

|$1

207-04-00020

FUEL TANK ASS'Y

1

TANK

1

TANK

2

07056-18416

STRAINER

3

07091-01200

CAP

4

207-04-15120

TUBE

5

201-04-21160

BALL

6

07281-00197

CLAMP

7

208-04-11150

FLANGE

8

07000-05150

O-RING

9

01010-31025

BOLT

10

01643-31032

WASHER

11

01010-31630

BOLT

12

01643-31645

WASHER

13

207-04-11210

COVER

14

01010-31225

BOLT

15

01643-31232

WASHER

16

07323-30200

ELBOW

17

07700-40240

VALVE

18

195-04-11450

ELBOW

19

07700-40460

VALVE

20

154-04-12680

NIPPLE

21

02750-24265

HOSE

21

02750-24275

HOSE

22

02750-23270

HOSE

22

02750-23300

HOSE

23

154-04-12640

ELBOW

24

08036-02514

CLIP

25

01010-31020

BOLT

26

01643-31032

WASHER

27

08034-00519

BAND

28

175-804-3230

CLIP

29

01010-31020

BOLT

30

01643-31032

WASHER

31

08034-00536

BAND

32

234-885-3660

CLIP

Выбрано товаров: 37