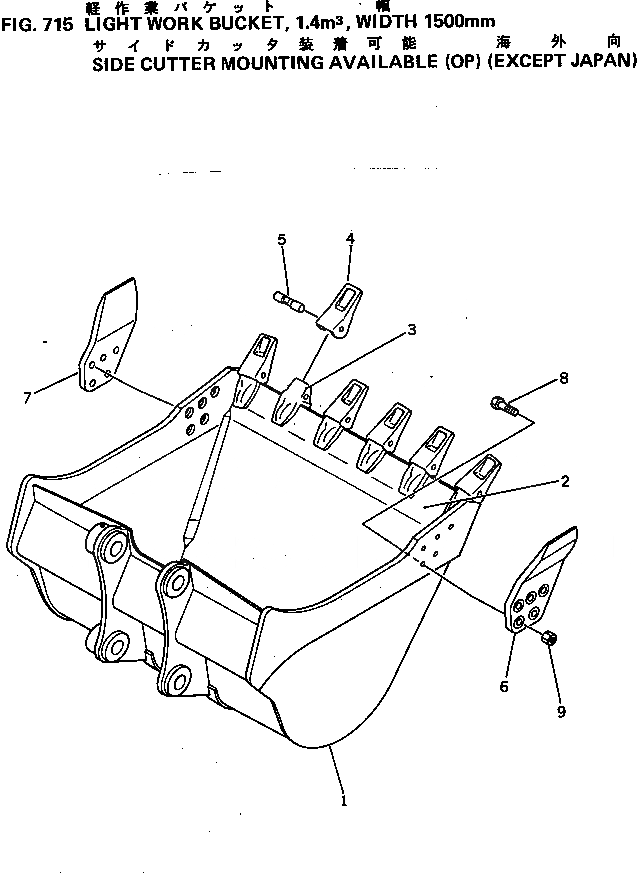
Запчасти Komatsu PC300LC-1 LIGHT РАБОЧ. КОВШ¤ .M¤ MM¤ С БОКОРЕЗЫ РАБОЧЕЕ ОБОРУДОВАНИЕ

Схема запчастей Komatsu PC300LC-1 - LIGHT РАБОЧ. КОВШ¤ .M¤ MM¤ С БОКОРЕЗЫ РАБОЧЕЕ ОБОРУДОВАНИЕ
FIT
1:1
100%

Артикул

Название

Примечание

Количество

1

207-920-1160

BUCKET

2

207-920-1121

PLATE (WELDED)

3

207-70-14141

ADAPTER (WELDED)

4

207-70-14151

TOOTH

5

09244-02516

PIN

6

207-70-14191

CUTTER,L.H.

7

207-70-14231

CUTTER,R.H.

8

195-32-11230

BOLT

9

01803-02732

NUT

Выбрано товаров: 9