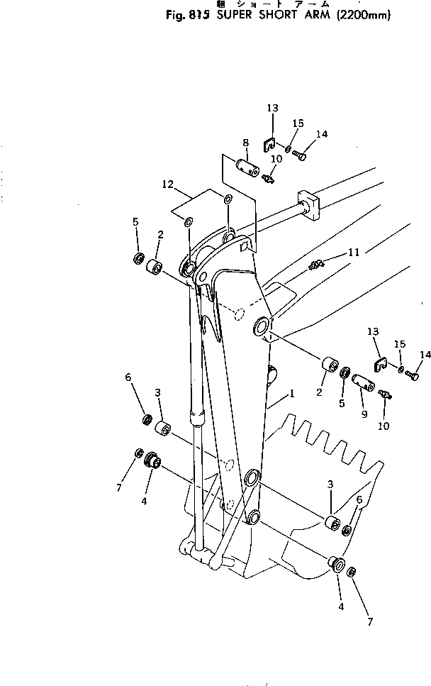
Запчасти Komatsu PC300LC-1 КОРОТК. РУКОЯТЬ (MM) ОПЦИОННЫЕ КОМПОНЕНТЫ

Схема запчастей Komatsu PC300LC-1 - КОРОТК. РУКОЯТЬ (MM) ОПЦИОННЫЕ КОМПОНЕНТЫ
FIT
1:1
100%

Артикул

Название

Примечание

Количество

|$0

207-944-0020

SHORT ARM ASS'Y

1

ARM,SHORT

2

207-70-12161

BUSHING

3

207-70-12171

BUSHING

4

207-70-12212

BUSHING

5

07145-00110

SEAL,DUST

6

205-70-62180

SEAL,DUST

7

207-70-12270

SEAL,DUST

8

207-70-12290

PIN

9

207-70-12150

PIN

10

07020-00000

FITTING,GREASE

11

07020-00900

FITTING,GREASE

12

207-70-24190

SPACER, 0.8MM

13

09256-09014

LOCK

14

01010-52045

BOLT

15

01643-32060

WASHER

Выбрано товаров: 16