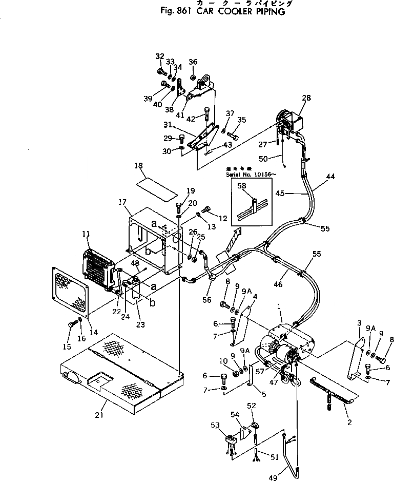
Запчасти Komatsu PC300LC-1 CAR ЛИНИЯ ОХЛАЖДЕНИЯ ОПЦИОННЫЕ КОМПОНЕНТЫ

Схема запчастей Komatsu PC300LC-1 - CAR ЛИНИЯ ОХЛАЖДЕНИЯ ОПЦИОННЫЕ КОМПОНЕНТЫ
FIT
1:1
100%

Артикул

Название

Примечание

Количество

1

205-981-5110

COOLING UNIT

2

205-981-5170

HOSE

3

206-988-2150

BRACKET,R.H.

4

206-988-2140

BRACKET,L.H.

5

205-981-5350

BRACKET

6

01010-31230

BOLT

7

01643-31232

WASHER

8

01010-30820

BOLT

8

01010-30825

BOLT

9

01602-00825

WASHER,SPRING

9A

01643-30823

WASHER

10

01580-00806

NUT

11

205-981-5120

CONDENSER UNIT

12

01010-30820

BOLT

13

01602-00825

WASHER,SPRING

14

207-978-1130

COVER

15

01010-31220

BOLT

16

01643-31232

WASHER

17

207-978-1120

COVER

18

154-54-23260

SEAT

19

01010-31230

BOLT

20

01643-31232

WASHER

21

207-978-1160

BOX

22

207-978-1150

TUBE

23

566-07-11240

RECEIVER

24

07283-26155

CLIP

25

01599-01011

NUT

26

01643-31032

WASHER

27

04120-21757

V-BELT

28

205-981-5130

COMPRESSOR ASS'Y

29

01010-30820

BOLT

30

01602-00825

WASHER,SPRING

31

207-978-1110

BRACKET

32

01010-31230

BOLT

33

01602-01236

WASHER,SPRING

34

01643-31232

WASHER

35

01010-31490

BOLT

36

01580-01411

NUT

37

01643-31445

WASHER

38

145-Z79-4320

PLATE

39

01010-31230

BOLT

40

01643-31232

WASHER

41

6711-61-2420

BRACKET

42

145-Z79-4330

BOLT

43

04050-03025

PIN,COTTER

44

207-978-1170

HOSE

45

207-978-1140

HOSE

46

09488-20545

HOSE

47

205-981-5250

ELBOW

48

205-981-5410

WIRE ASS'Y

49

203-981-2160

WIRE ASS'Y

50

205-981-5410

WIRE ASS'Y

51

203-981-2150

WIRE ASS'Y

52

205-981-5160

RELAY

53

205-981-5150

PANEL ASS'Y

54

205-978-6170

BRACKET

55

08034-00536

BAND

56

205-62-55780

COVER

57

566-07-11450

TAPE

58

175-804-3230

CLIP

Выбрано товаров: 60