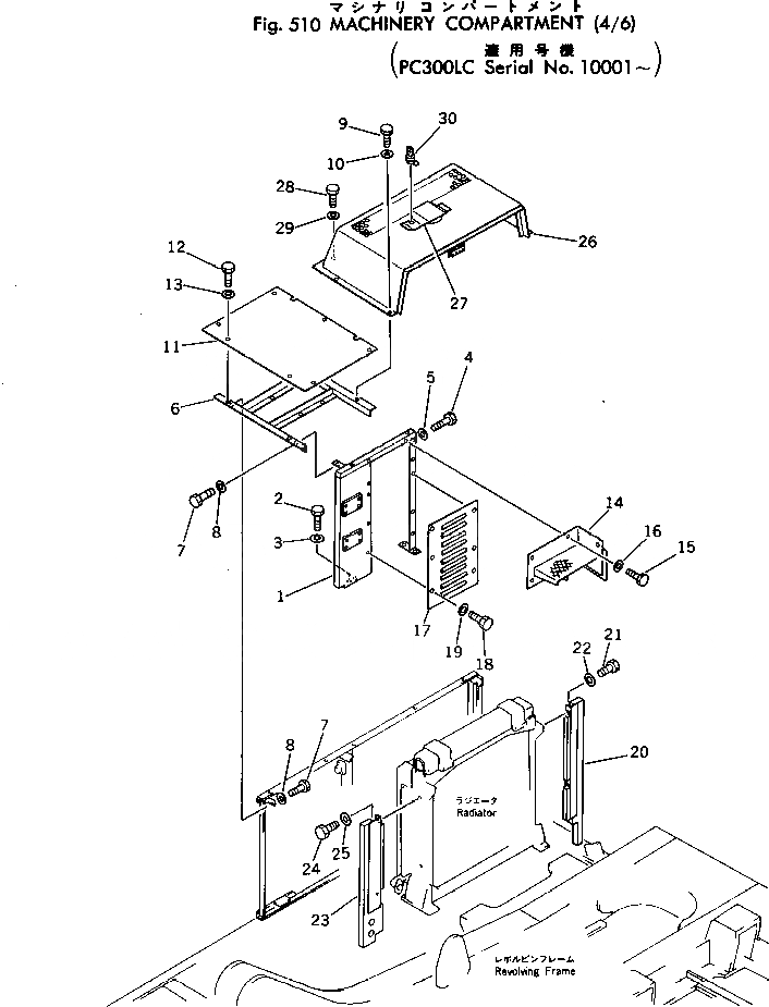
Запчасти Komatsu PC300LC-1 MACHINERY ОБСТАНОВКА (/) ОСНОВНАЯ РАМА И КАБИНА

Схема запчастей Komatsu PC300LC-1 - MACHINERY ОБСТАНОВКА (/) ОСНОВНАЯ РАМА И КАБИНА
FIT
1:1
100%

Артикул

Название

Примечание

Количество

1

207-54-16921

BRACKET

2

01010-31225

BOLT

3

01643-31232

WASHER

4

01010-31225

BOLT

5

01643-31232

WASHER

6

207-54-16910

BRACKET

7

01010-31225

BOLT

8

01643-31232

WASHER

9

01010-31225

BOLT

10

01643-31232

WASHER

11

207-54-16940

COVER

12

01010-31225

BOLT

13

01643-31232

WASHER

14

207-54-16560

STEP

15

01010-31225

BOLT

16

01643-31232

WASHER

17

207-54-16931

COVER

18

01010-31225

BOLT

19

01643-31232

WASHER

20

207-54-17270

PLATE

21

01010-31225

BOLT

22

01643-31232

WASHER

23

207-54-17260

PLATE

24

01010-31225

BOLT

25

01643-31232

WASHER

26

207-54-17880

COVER

27

205-54-64920

COVER (WELDED)

28

01010-31225

BOLT

29

01643-31232

WASHER

30

205-54-64930

KEY

Выбрано товаров: 30