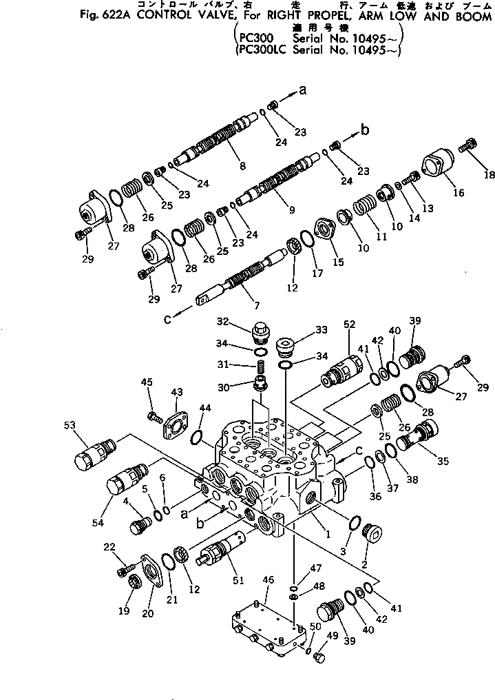
Запчасти Komatsu PC300LC-1 УПРАВЛЯЮЩ. КЛАПАН¤ ДЛЯ ПРАВ. ХОД¤ СТРЕЛА И КОВШ(№9-) УПРАВЛ-Е РАБОЧИМ ОБОРУДОВАНИЕМ

Схема запчастей Komatsu PC300LC-1 - УПРАВЛЯЮЩ. КЛАПАН¤ ДЛЯ ПРАВ. ХОД¤ СТРЕЛА И КОВШ(№9-) УПРАВЛ-Е РАБОЧИМ ОБОРУДОВАНИЕМ
FIT
1:1
100%

Артикул

Название

Примечание

Количество

|$0

700-93-24003

CONTROL VALVE A.

1

BODY

2

07040-13618

PLUG

3

07002-13634

O-RING

4

700-22-11360

PLUG

5

07002-02434

O-RING

6

07000-02014

O-RING

7

SPOOL

8

SPOOL

9

SPOOL

10

700-93-11870

RETAINER

11

700-93-11890

SPRING

12

700-93-11140

U-PACKING

13

01252-31016

BOLT

14

01643-31032

WASHER

15

700-93-11180

PLATE

16

700-93-11220

CASE

17

07430-71380

O-RING

18

01252-30825

BOLT

19

700-93-11150

SEAL,DUST

20

700-93-11161

PLATE

21

07430-71380

O-RING

22

01252-30820

BOLT

23

700-93-11230

PLUG

24

07002-11423

O-RING

25

700-93-12380

RETAINER

26

700-93-11371

SPRING

27

700-93-12390

CASE

28

07430-71380

O-RING

29

01252-30820

BOLT

30

700-93-11461

VALVE

31

700-93-11471

SPRING

32

700-93-11481

PLUG

33

700-93-11380

PLUG

34

07002-13634

O-RING

35

700-93-12630

NIPPLE

36

700-93-11320

O-RING

37

700-93-11330

RING,BACK-UP

38

07002-03634

O-RING

39

700-93-11350

PLUG

40

07002-03634

O-RING

41

700-93-11320

O-RING

42

700-93-11330

RING,BACK-UP

43

700-93-11940

FLANGE

44

07430-71380

O-RING

45

01010-51025

BOLT

46

700-90-92002

CHECK VALVE ASS'Y

47

07000-12010

O-RING

48

700-93-12270

RING

49

07040-11409

PLUG,BACK-UP

50

07002-01423

O-RING

51

700-90-59000

MAIN RELIEF VALVE A.

52

700-90-61000

VALVE ASS'Y,SUCTION AND SAFETY

53

700-90-67000

VALVE ASS'Y,SUCTION AND SAFETY

54

700-90-66001

VALVE ASS'Y,SUCTION AND SAFETY

Выбрано товаров: 55