Запчасти Komatsu PC300LC-2 ГИДР. БАК.(№97-) УПРАВЛ-Е РАБОЧИМ ОБОРУДОВАНИЕМ

Схема запчастей Komatsu PC300LC-2 - ГИДР. БАК.(№97-) УПРАВЛ-Е РАБОЧИМ ОБОРУДОВАНИЕМ
FIT
1:1
100%

Артикул

Название

Примечание

Количество

|$0

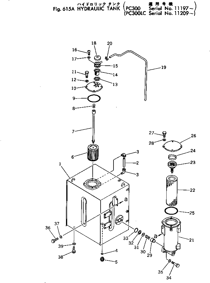
207-60-00014

HYDRAULIC TANK ASS'Y

1

207-60-11116

TANK

2

203-60-31160

TUBE

3

203-60-31100

ELBOW ASS'Y

4

07002-03634

O-RING

5

07044-13620

PLUG

6

207-60-11130

STRAINER

7

207-60-11143

SUPPORT

8

12R-60-11230

SPRING

9

07000-05180

O-RING

10

203-60-31192

COVER

11

01010-51035

BOLT

12

01643-31032

WASHER

13

205-60-51460

GASKET

14

205-60-51480

SCREEN

15

201-60-12171

FILLER

16

01220-40516

SCREW

17

01601-20513

WASHER,SPRING

18

201-60-12190

CAP ASS'Y

19

207-60-11350

TUBE

20

07280-01110

CLAMP

|$21

207-60-00021

FILTER ASS'Y

21

207-60-12110

CASE

22

205-60-51430

ELEMENT

23

12R-60-11300

VALVE ASS'Y

24

12R-60-11390

SPRING

25

07000-05180

O-RING

26

205-60-65130

COVER

27

01010-51230

BOLT

28

01643-31232

WASHER

29

205-60-65250

POPPET

30

706-76-71190

SPRING

31

205-60-65260

SEAT

32

04065-05020

RING,SNAP

33

07000-02070

O-RING

34

01010-51245

BOLT

35

01643-31232

WASHER

36

01010-51225

BOLT

37

01643-31232

WASHER

38

01010-51635

BOLT

39

01643-31645

WASHER

Выбрано товаров: 41