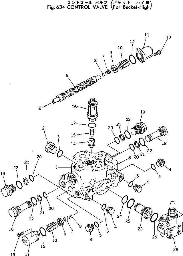
Запчасти Komatsu PC300LC-2 УПРАВЛЯЮЩ. КЛАПАН (ДЛЯ КОВША ВЫС.) УПРАВЛ-Е РАБОЧИМ ОБОРУДОВАНИЕМ

Схема запчастей Komatsu PC300LC-2 - УПРАВЛЯЮЩ. КЛАПАН (ДЛЯ КОВША ВЫС.) УПРАВЛ-Е РАБОЧИМ ОБОРУДОВАНИЕМ
FIT
1:1
100%

Артикул

Название

Примечание

Количество

|$0

700-91-31002

VALVE ASS'Y

|$1

700-91-31001

VALVE ASS'Y

|$2

700-91-31000

VALVE ASS'Y

1

BODY

2

07040-13618

PLUG

3

07002-13634

O-RING

4

700-22-11370

PLUG

5

07002-02434

O-RING

6

SPOOL

7

700-93-11230

PLUG

8

07002-11423

O-RING

9

700-93-12380

RETAINER

10

700-93-12620

SPRING

11

700-93-12390

CASE

12

07430-71380

O-RING

13

01252-30820

BOLT

14

207-60-11520

VALVE,CHECK

15

700-93-11471

SPRING

16

207-62-23491

NIPPLE

17

07002-13634

O-RING

18

700-93-11310

PLUG

19

700-93-11350

PLUG

20

700-93-11320

O-RING

21

700-93-11330

RING,BACK-UP

22

07002-03634

O-RING

23

700-93-12680

FLANGE

24

07000-03032

O-RING

25

07000-03035

O-RING

26

700-90-95001

VALVE ASS'Y

Выбрано товаров: 29