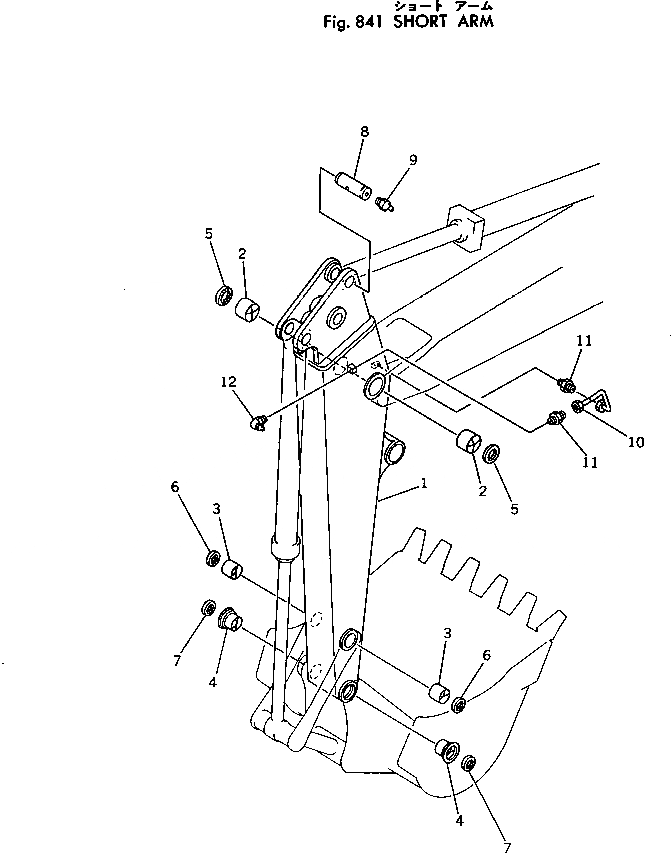
Запчасти Komatsu PC300LC-2 КОРОТК. РУКОЯТЬ ОПЦИОННЫЕ КОМПОНЕНТЫ

Схема запчастей Komatsu PC300LC-2 - КОРОТК. РУКОЯТЬ ОПЦИОННЫЕ КОМПОНЕНТЫ
FIT
1:1
100%

Артикул

Название

Примечание

Количество

|$0

207-944-0011

SHORT ARM ASS'Y

|$1

207-944-0010

SHORT ARM ASS'Y

1

ARM

1

ARM

2

207-70-12161

BUSHING

3

207-70-12171

BUSHING

4

207-70-12212

BUSHING

5

07145-00100

SEAL,DUST

6

20-70-62180

SEAL,DUST

7

207-70-12270

SEAL,DUST

8

207-70-12290

PIN

9

07020-00000

FITTING,GREASE

10

207-70-12310

TUBE

11

07213-51013

CONNECTOR

12

07020-00900

FITTING,GREASE

Выбрано товаров: 15