Запчасти Komatsu PC300LC-2 ПОВОРОТН. HOLD ТОРМОЗ. ПЕРЕКЛЮЧАТЕЛЬ (ДЛЯ США) ОПЦИОННЫЕ КОМПОНЕНТЫ (СПЕЦ. APPLICATION ЧАСТИ)

Схема запчастей Komatsu PC300LC-2 - ПОВОРОТН. HOLD ТОРМОЗ. ПЕРЕКЛЮЧАТЕЛЬ (ДЛЯ США) ОПЦИОННЫЕ КОМПОНЕНТЫ (СПЕЦ. APPLICATION ЧАСТИ)
FIT
1:1
100%

Артикул

Название

Примечание

Количество

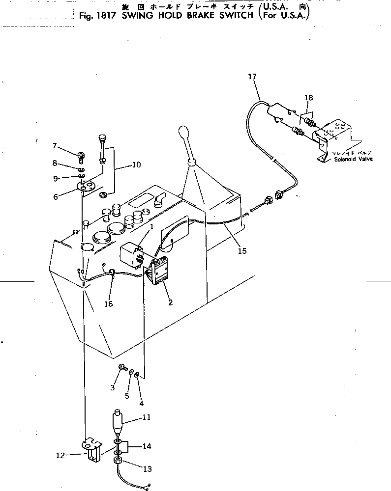
1

205-06-64520

RELAY

2

205-06-64530

SOCKET

3

01220-40425

SCREW

4

01641-20405

WASHER

5

01601-20410

WASHER,SPRING

6

205-06-64460

COVER

7

205-06-62170

BOLT

8

205-06-62180

WASHER

9

205-06-62190

WASHER

10

205-06-64540

LAMP

10

08111-02430

BULB, 3W

11

205-06-64510

SWITCH

12

205-06-64450

BRACKET

13

01583-11006

NUT

14

01643-31032

WASHER

15

205-06-64550

WIRING HARNESS

16

08034-00414

BAND

17

207-06-15210

WIRING HARNESS

17

205-06-64560

WIRING HARNESS

18

21T-06-12530

CONNECTOR

Выбрано товаров: 20