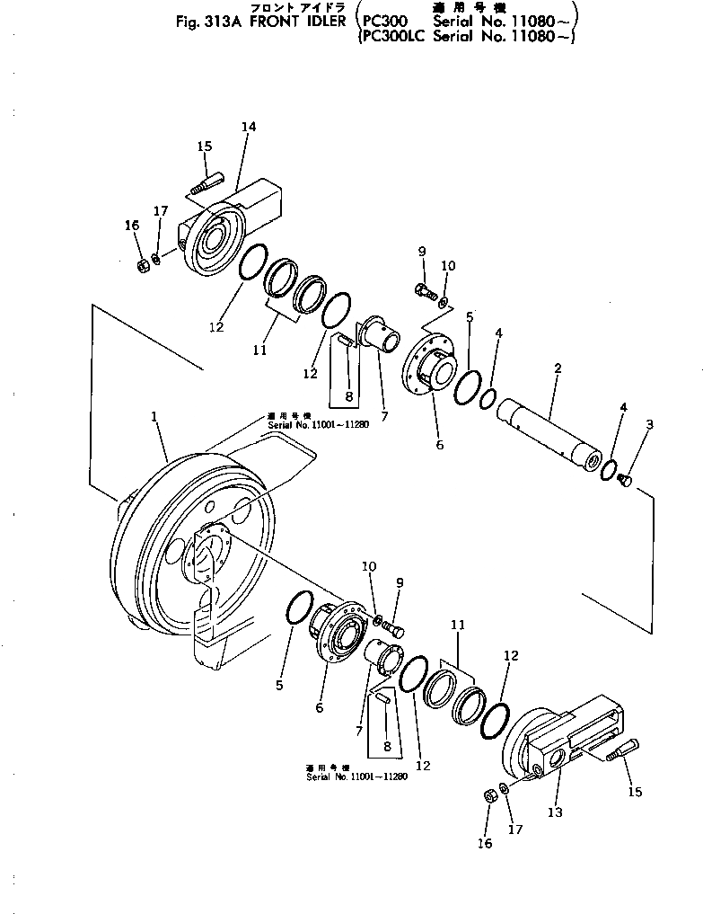
Запчасти Komatsu PC300LC-2 ПЕРЕДН. ЛЕНИВЕЦ(№8-) ХОДОВАЯ

Схема запчастей Komatsu PC300LC-2 - ПЕРЕДН. ЛЕНИВЕЦ(№8-) ХОДОВАЯ
FIT
1:1
100%

Артикул

Название

Примечание

Количество

|$0

207-30-00013

FRONT IDLER ASS'Y

|$1

207-30-00012

FRONT IDLER ASS'Y

1

207-30-13110

IDLER

2

207-30-13330

SHAFT

3

07052-21624

PLUG

4

07000-02065

O-RING

5

07000-02115

O-RING

|$7

207-30-00060

BUSHING ASS'Y

|$8

207-30-13400

BUSHING ASS'Y

6

207-30-13410

BUSHING

7

207-30-13420

BUSHING

8

170-30-91130

PIN,DOWEL

9

01010-31035

BOLT

10

01643-31032

WASHER

|$14

150-27-00017

FLOATING SEAL ASS'Y

11

150-27-00182

SEAL RING ASS'Y

11

RING

12

150-27-00190

O-RING ASS'Y

12

O-RING

13

207-30-13234

SUPPORT

14

207-30-13322

SUPPORT

15

130-30-13170

BOLT

16

01582-01613

NUT

17

01643-31645

WASHER

Выбрано товаров: 24