Запчасти Komatsu PC300LC-2 МОТОР ПОВОРОТА ПОВОРОТН. И СИСТЕМА УПРАВЛЕНИЯS

Схема запчастей Komatsu PC300LC-2 - МОТОР ПОВОРОТА ПОВОРОТН. И СИСТЕМА УПРАВЛЕНИЯS
FIT
1:1
100%

Артикул

Название

Примечание

Количество

|$0

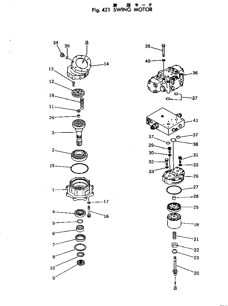
706-77-06701

MOTOR ASS'Y

|$1

706-77-41001

MOTOR ASS'Y

1

COVER

2

BEARING

3

SHAFT

4

BEARING

5

O-RING

6

RING

7

SEAL,OIL

8

RING,SNAP

9

NUT

10

WASHER

11

HOLDER

12

RETAINER

13

SCREW

14

CASE

15

O-RING

16

BOLT

17

WASHER,SPRING

18

BLOCK

19

PISTON SUB ASS'Y

20

SHAFT

21

SPRING

22

PLATE

23

SEAT

24

BALL

25

PLATE

26

COVER

27

O-RING

28

BEARING

29

BOLT

30

GASKET

31

BOLT

32

BOLT

33

WASHER,SPRING

34

07040-12012

PLUG

35

07002-02034

O-RING

36

706-77-72401

BRAKE VALVE ASS'Y

37

07000-13035

O-RING

38

07000-02055

O-RING

39

706-77-71540

BOLT

40

01602-21442

WASHER,SPRING

41

706-77-79302

VALVE ASS'Y

Выбрано товаров: 43