Запчасти Komatsu PC300LC-2 MACHINERY ОБСТАНОВКА (/) ОСНОВНАЯ РАМА И КАБИНА

Схема запчастей Komatsu PC300LC-2 - MACHINERY ОБСТАНОВКА (/) ОСНОВНАЯ РАМА И КАБИНА
FIT
1:1
100%

Артикул

Название

Примечание

Количество

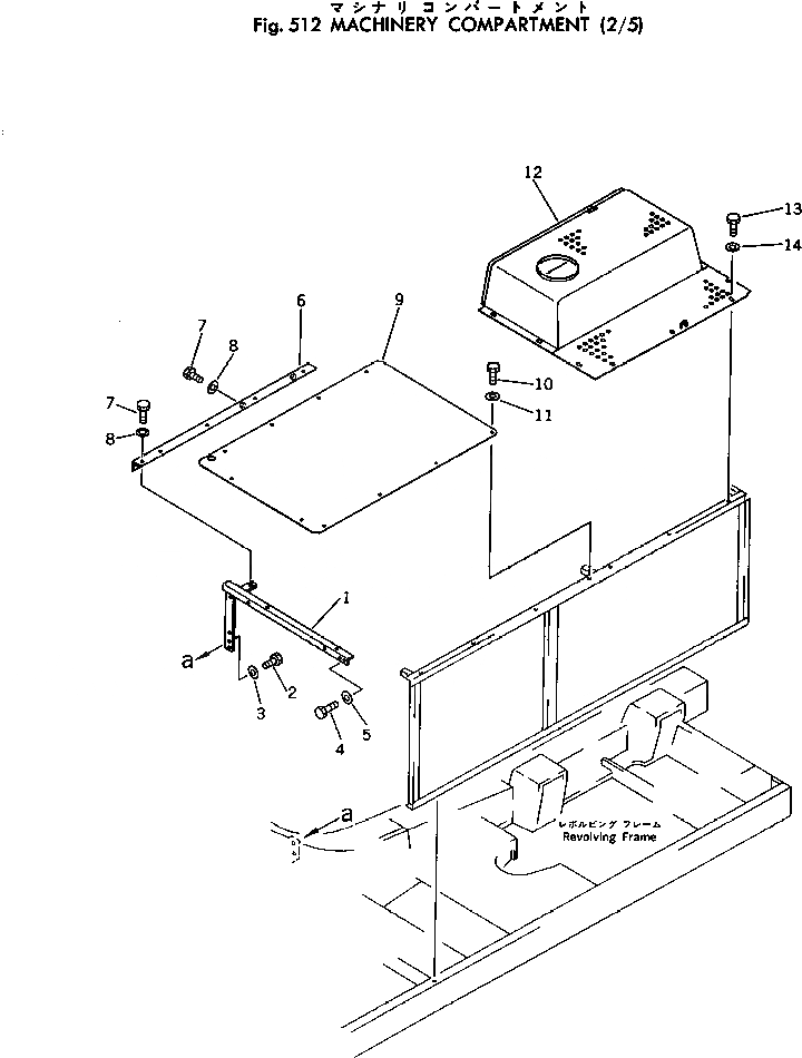
1

207-54-16812

FRAME

2

01010-51230

BOLT

3

01643-31232

WASHER

4

01010-51230

BOLT

5

01643-31232

WASHER

6

207-54-17190

FRAME

7

01010-51230

BOLT

8

01643-31232

WASHER

9

207-54-16843

COVER

10

01010-51230

BOLT

11

01643-31232

WASHER

12

207-54-16433

COVER

13

01010-51230

BOLT

14

01643-31232

WASHER

Выбрано товаров: 0