Запчасти Komatsu PC300LC-2 MACHINERY ОБСТАНОВКА (/) ОСНОВНАЯ РАМА И КАБИНА

Схема запчастей Komatsu PC300LC-2 - MACHINERY ОБСТАНОВКА (/) ОСНОВНАЯ РАМА И КАБИНА
FIT
1:1
100%

Артикул

Название

Примечание

Количество

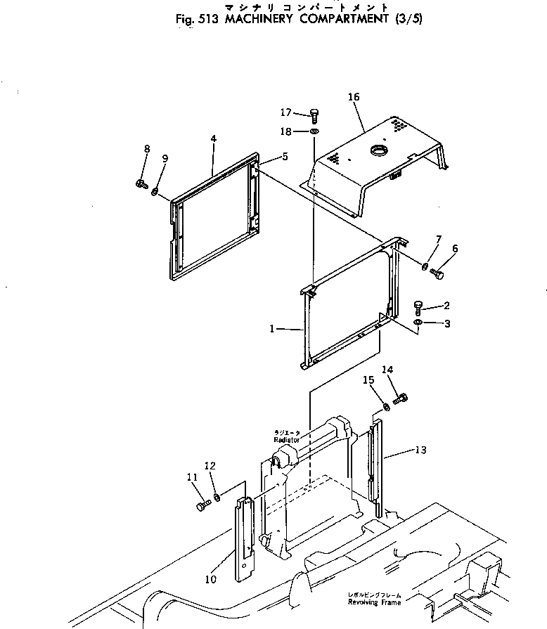
1

207-54-16313

FRAME

2

01010-51230

BOLT

3

01643-31232

WASHER

4

207-54-16322

COVER

5

205-54-64160

HINGE (WELDED)

6

01010-51225

BOLT

7

01643-31232

WASHER

8

01010-51225

BOLT

9

01643-31232

WASHER

10

207-54-17261

PLATE

11

01010-51220

BOLT

12

01643-31232

WASHER

13

207-54-17270

PLATE

14

01010-51220

BOLT

15

01643-31232

WASHER

16

207-54-16653

COVER

17

01010-51230

BOLT

18

01643-31232

WASHER

Выбрано товаров: 18