Запчасти Komatsu PC300LC-2 КАБИНА (/) ОСНОВНАЯ РАМА И КАБИНА

Схема запчастей Komatsu PC300LC-2 - КАБИНА (/) ОСНОВНАЯ РАМА И КАБИНА
FIT
1:1
100%

Артикул

Название

Примечание

Количество

|$0

205-54-00161

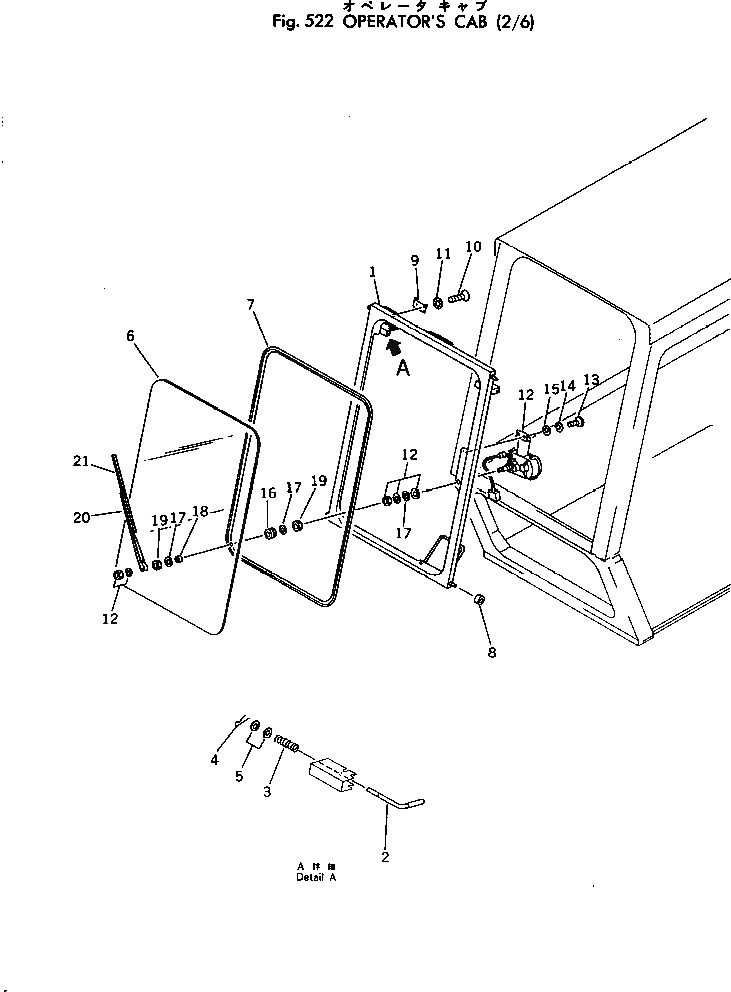
OPERATOR'S CAB ASS'Y

|$1

205-54-00170

FRONT WINDOW ASS'Y

1

205-54-66141

WINDOW

2

205-54-66211

PIN,LOCK

3

205-54-66330

SPRING

4

04050-13018

PIN,COTTER

5

01641-21016

WASHER

6

205-54-66340

GLASS

7

205-54-66350

STRIP,WEATHER

8

205-54-66240

ROLLER

9

566-54-24511

STRIKER

10

01224-40820

SCREW

11

205-54-53730

WASHER

12

205-06-62210

WIPER MOTOR ASS'Y

13

01220-40516

SCREW

14

01601-20513

WASHER,SPRING

15

01641-20508

WASHER

16

205-06-62230

GROMMET

17

205-06-62270

WASHER

18

205-06-62240

COLLAR

19

205-06-62250

NUT

20

205-06-62560

ARM

21

205-06-62570

BLADE

Выбрано товаров: 23