Запчасти Komatsu PC300LC-2 МАРКИРОВКА (ПОРТУГАЛ.) (FWC) ОСНОВНАЯ РАМА И КАБИНА

Схема запчастей Komatsu PC300LC-2 - МАРКИРОВКА (ПОРТУГАЛ.) (FWC) ОСНОВНАЯ РАМА И КАБИНА
FIT
1:1
100%

Артикул

Название

Примечание

Количество

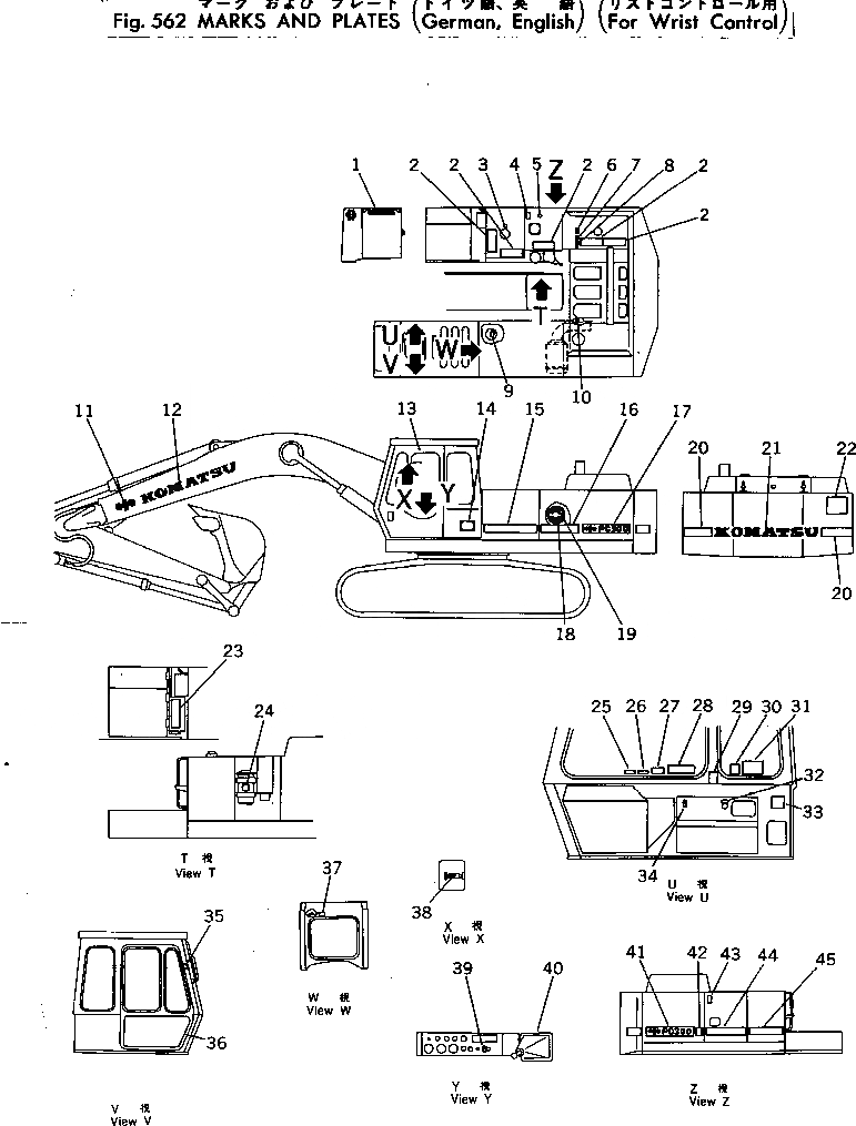
1

207-00-13220

PLATE

2

154-54-23260

SEAT

3

09669-00002

PLATE, CAUTION

4

09653-02000

PLATE, SAFETY

5

09669-00003

PLATE, CAUTION

6

09650-21103

PLATE, INSTRUCTION

7

09668-02000

PLATE, SAFETY

8

09667-02000

PLATE, SAFETY

9

207-00-13440

PLATE

10

08670-20635

INDICATOR

11

207-00-13121

PLATE, MARK

12

207-00-13131

PLATE, MARK

13

205-00-63770

PLATE

14

09602-21643

PLATE, NAME

14

01220-60408

SCREW

15

207-00-13150

STRIPE

16

207-00-13160

STRIPE

16

207-00-13880

STRIPE

17

207-00-13141

PLATE

17

207-00-13850

PLATE

18

09639-21305

PLATE, INSTRUCTION

19

09638-50305

PLATE, CAUTION

20

207-00-13210

STRIPE

21

207-00-13131

PLATE, MARK

22

09133-02000

PLATE, SAFETY

23

154-54-23260

SEAT

24

09644-81120

PLATE, INSTRUCTION

25

09651-02000

PLATE, SAFETY

26

09131-02000

PLATE, SAFETY

27

207-00-13431

PLATE

28

205-00-64230

PLATE

29

207-00-13480

PLATE, CAUTION

30

09173-02000

PLATE, SAFETY

31

09659-22000

PLATE, SAFETY

32

207-00-13520

PLATE, OPERATING

33

207-00-13550

PLATE, CAUTION

34

09685-00002

PLATE, OPERATING

35

207-00-13460

PLATE, CAUTION

36

207-54-18890

COVER

36

205-00-65310

CLIP ASS'Y

37

207-00-13450

PLATE

38

207-00-13510

PLATE, SAFETY

39

207-00-14340

PLATE, OPERATING

39

09683-21060

PLATE, OPERATING

40

09685-00001

PLATE, OPERATING

41

207-00-13141

PLATE

41

207-00-13850

PLATE

42

207-00-13192

STRIPE

43

207-00-13530

PLATE

44

207-00-13171

STRIPE

44

207-00-13181

STRIPE

45

207-00-13171

STRIPE

Выбрано товаров: 52