Запчасти Komatsu PC300LC-2 ИЗ БАКА В НАСОС ТРУБЫ (/) УПРАВЛ-Е РАБОЧИМ ОБОРУДОВАНИЕМ

Схема запчастей Komatsu PC300LC-2 - ИЗ БАКА В НАСОС ТРУБЫ (/) УПРАВЛ-Е РАБОЧИМ ОБОРУДОВАНИЕМ
FIT
1:1
100%

Артикул

Название

Примечание

Количество

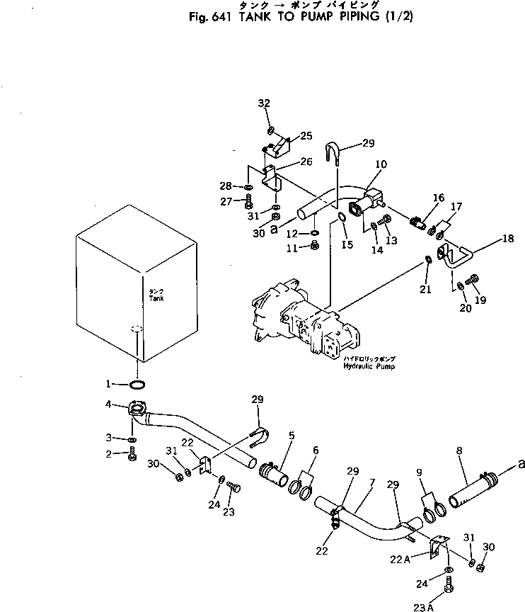
1

07000-02105

O-RING

2

01010-51240

BOLT

3

01643-31232

WASHER

4

207-62-24110

TUBE

5

07260-28722

HOSE

6

205-09-61110

CLAMP

7

207-62-24130

TUBE

8

07260-28745

HOSE

9

205-09-61110

CLAMP

10

207-62-24140

TUBE

11

07040-11812

PLUG

12

07002-01823

O-RING

13

01010-51240

BOLT

14

01643-51232

WASHER

15

07000-02070

O-RING

16

07260-03210

HOSE

17

207-09-11110

CLAMP

18

205-62-66631

TUBE

19

01010-51270

BOLT

20

01643-31232

WASHER

21

07000-03048

O-RING

22

207-62-24120

BRACKET

22A

207-62-24180

BRACKET

23

01010-51230

BOLT

23A

01010-51235

BOLT

24

01643-31232

WASHER

25

207-62-24170

BRACKET

26

207-62-24160

BRACKET

27

01010-51230

BOLT

28

01643-31232

WASHER

29

07283-28973

CLIP

30

01599-01214

NUT

31

01643-31232

WASHER

32

01643-31232

WASHER

Выбрано товаров: 34