Запчасти Komatsu PC300LC-2 РУКОЯТЬ ТРУБЫ (ШАССИ) (/) УПРАВЛ-Е РАБОЧИМ ОБОРУДОВАНИЕМ

Схема запчастей Komatsu PC300LC-2 - РУКОЯТЬ ТРУБЫ (ШАССИ) (/) УПРАВЛ-Е РАБОЧИМ ОБОРУДОВАНИЕМ
FIT
1:1
100%

Артикул

Название

Примечание

Количество

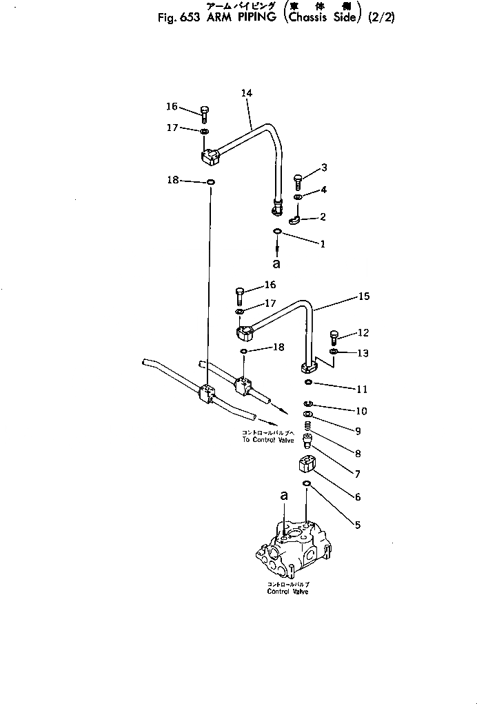
1

07000-13032

O-RING

2

07371-31049

FLANGE

3

07372-21035

BOLT

4

01643-51032

WASHER

5

07000-13035

O-RING

|6

205-60-51200

VALVE ASS'Y

6

205-60-51280

BODY

7

205-60-51290

POPPET

8

205-60-51310

SPRING

9

205-60-51320

SEAT

10

04065-02812

RING

11

07000-13032

O-RING

12

205-62-51310

BOLT

13

01643-51032

WASHER

14

207-62-23210

TUBE

15

207-62-23230

TUBE

16

01010-51060

BOLT

17

01643-51032

WASHER

18

07000-13035

O-RING

Выбрано товаров: 19