Качественные детали и логистика
Оригинальные и аналоговые запчасти с доставкой по России, Казахстану и Беларуси
©2022 PartSell ООО "Система" ИНН 2463123282 ОГРН 1212400004838
Центральный офис: г. Красноярск, Академика Киренского, д.87, пом.4
Телефон: 8 (800) 777-65-74 Email: zakaz@partsell.ru
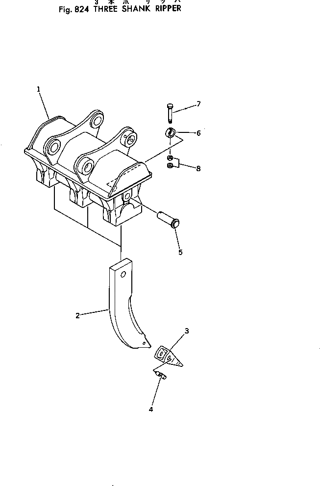
ТРЕХЗУБЫЙ РЫХЛИТЕЛЬ
№
Артикул
Название
Примечание
Количество
|1
207-951-0010
THREE SHANK RIPPER A
1
BRACKET
|2
207-951-0020
SHANK ASS'Y
2
SHANK
3
175-78-31230
POINT
4
09244-02508
PIN
5
207-951-1140
6
207-951-1150
COLLAR
7
01019-11620
BOLT
8
01580-11613
NUT
Выбрано товаров: 0