Запчасти Komatsu PC300LC-2 ДОПОЛН. ГИДРОЛИНИЯ (УПРАВЛЯЮЩ. КЛАПАН - CHANGE ROTOR БЛОК) ОПЦИОННЫЕ КОМПОНЕНТЫ (СПЕЦ. APPLICATION ЧАСТИ)

Схема запчастей Komatsu PC300LC-2 - ДОПОЛН. ГИДРОЛИНИЯ (УПРАВЛЯЮЩ. КЛАПАН - CHANGE ROTOR БЛОК) ОПЦИОННЫЕ КОМПОНЕНТЫ (СПЕЦ. APPLICATION ЧАСТИ)
FIT
1:1
100%

Артикул

Название

Примечание

Количество

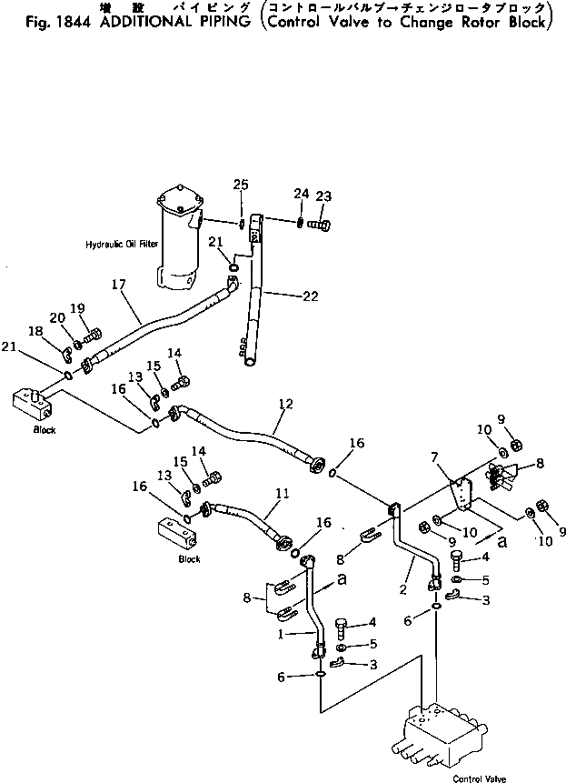
1

207-970-1540

PLATE

2

207-970-1550

TUBE

3

07371-31049

FLANGE

4

07372-21035

BOLT

5

01643-51032

WASHER

6

07000-13032

O-RING

7

207-970-1560

PLATE

8

07283-23442

CLIP

9

01599-01011

NUT

10

01643-31032

WASHER

11

209-62-19810

HOSE

12

21T-62-12350

HOSE

13

07371-31049

FLANGE,SPLIT

14

07372-21035

BOLT

15

01643-51032

WASHER

16

07000-13032

O-RING

17

207-970-1640

HOSE

18

07371-31255

FLANGE,SPLIT

19

07372-21035

BOLT

20

01643-51032

WASHER

21

07000-13038

O-RING

22

207-970-1650

TUBE

23

01011-51200

BOLT

24

01643-31232

WASHER

25

07000-02060

O-RING

Выбрано товаров: 0