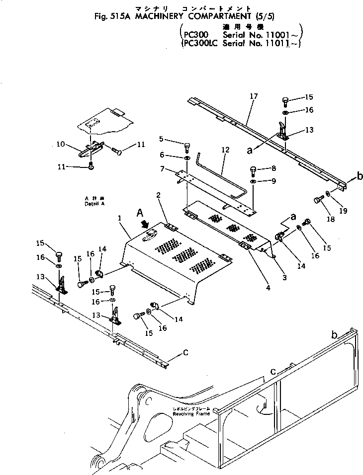
Запчасти Komatsu PC300LC-2 MACHINERY ОБСТАНОВКА (/) ОСНОВНАЯ РАМА И КАБИНА

Схема запчастей Komatsu PC300LC-2 - MACHINERY ОБСТАНОВКА (/) ОСНОВНАЯ РАМА И КАБИНА
FIT
1:1
100%

Артикул

Название

Примечание

Количество

1

207-54-16614

COVER

2

208-54-12170

HINGE (WELDED)

3

207-54-16514

COVER

4

208-54-12170

HINGE (WELDED)

5

01010-51225

BOLT

6

01643-31232

WASHER

7

207-54-17470

BRACKET

8

01010-51230

BOLT

9

01643-31232

WASHER

10

208-54-13160

STAY

11

01225-40510

SCREW

12

208-54-12210

BAR

13

205-54-12860

CATCHER

14

581-22-12420

SUPPORT

15

01010-50820

BOLT

16

01605-10818

WASHER

17

207-54-16422

FRAME

18

01010-51230

BOLT

19

01643-31232

WASHER

Выбрано товаров: 0