Запчасти Komatsu PC300LC-2 РАДИАТОР И МАСЛООХЛАДИТЕЛЬ КОМПОНЕНТЫ ДВИГАТЕЛЯ И ЭЛЕКТРИКА

Схема запчастей Komatsu PC300LC-2 - РАДИАТОР И МАСЛООХЛАДИТЕЛЬ КОМПОНЕНТЫ ДВИГАТЕЛЯ И ЭЛЕКТРИКА
FIT
1:1
100%

Артикул

Название

Примечание

Количество

|1

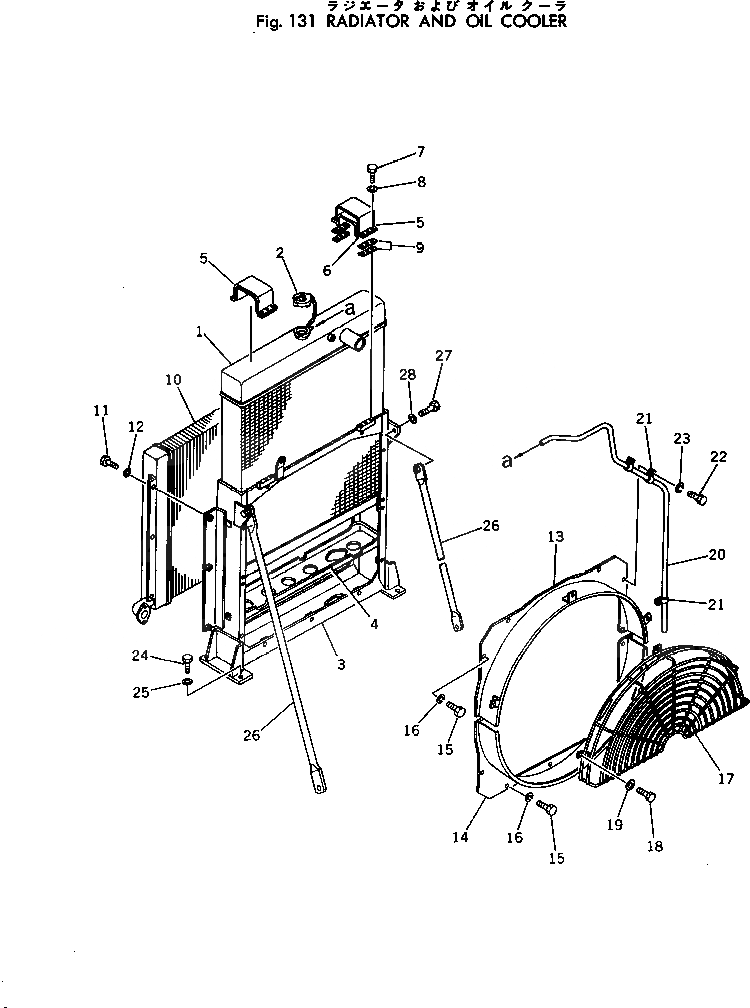
207-03-00010

RADIATOR ASS'Y

1

207-03-11110

CORE

2

101-03-13141

CAP

3

207-03-11121

FRAME

4

206-03-11130

SEAT

5

281-03-11150

CLAMP

6

281-03-11160

SEAT,RUBBER

7

01010-51020

BOLT

8

01602-21030

WASHER,SPRING

9

281-03-11170

SHIM¤ 0.6MM

10

207-03-11214

COOLER

|10

207-03-11213

COOLER

11

01010-51220

BOLT

12

01643-31232

WASHER

13

207-03-11132

SHROUD

14

207-03-11160

SHROUD

15

01010-51016

BOLT

16

01602-21030

WASHER,SPRING

17

207-03-11140

NET

18

01010-51225

BOLT

19

01643-31232

WASHER

20

207-03-12160

PIPE

21

232-03-11210

CLIP

22

01010-51020

BOLT

23

01602-21030

WASHER

24

01010-51640

BOLT

25

01643-31645

WASHER

26

207-03-11151

STAY

27

01010-51230

BOLT

28

01643-31232

WASHER

Выбрано товаров: 30