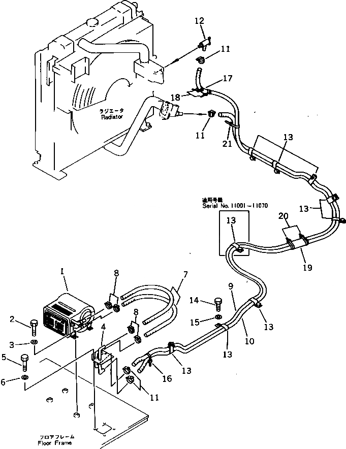
Запчасти Komatsu PC300LC-3 ОБОГРЕВАТЕЛЬ.(№-888) ОСНОВНАЯ РАМА И КАБИНА

Схема запчастей Komatsu PC300LC-3 - ОБОГРЕВАТЕЛЬ.(№-888) ОСНОВНАЯ РАМА И КАБИНА
FIT
1:1
100%

Артикул

Название

Примечание

Количество

1

205-977-7110

HEATER UNIT

2

01010-51020

BOLT

3

01643-31032

WASHER

4

205-977-7133

JOINT

5

01010-51025

BOLT

6

01643-31032

WASHER

7

205-977-7250

HOSE

|7

09483-00405

HOSE

8

07281-00259

CLAMP

9

09483-00451

HOSE

10

09483-00446

HOSE

11

07281-00259

CLAMP

12

09482-20000

VALVE,HEATER

13

141-06-11220

CLIP

|13

141-06-11220

CLIP

14

01010-51225

BOLT

|14

01010-51225

BOLT

15

01643-31232

WASHER

|15

01643-31232

WASHER

16

08034-00536

BAND

17

205-62-72240

COVER

18

08034-00823

BAND

19

205-62-53780

COVER

20

08034-00823

BAND

21

08034-00519

BAND

Выбрано товаров: 25