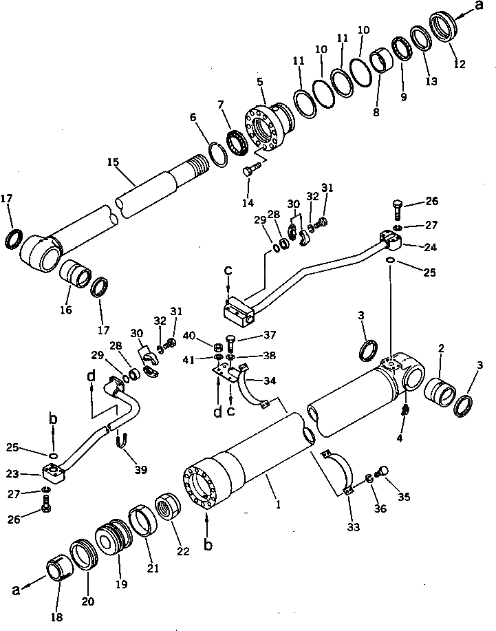
Запчасти Komatsu PC300LC-3 ЦИЛИНДР СТРЕЛЫ УПРАВЛ-Е РАБОЧИМ ОБОРУДОВАНИЕМ

Схема запчастей Komatsu PC300LC-3 - ЦИЛИНДР СТРЕЛЫ УПРАВЛ-Е РАБОЧИМ ОБОРУДОВАНИЕМ
FIT
1:1
100%

Артикул

Название

Примечание

Количество

|1

207-63-52100

BOOM CYLINDER ASS'Y,L.H.

|1

207-63-52200

BOOM CYLINDER ASS'Y,R.H.

1

207-63-52140

CYLINDER

2

207-63-76170

BUSHING

3

07145-00090

SEAL,DUST

4

07020-00675

FITTING,GREASE

5

707-28-14370

HEAD,CYLINDER

6

707-75-10010

RING,SNAP

7

176-63-56170

SEAL,DUST

8

07177-01040

BUSHING

9

707-51-10211

PACKING,ROD

10

07000-15135

O-RING

11

707-35-91440

RING,BACK-UP

12

707-71-31050

COLLAR

13

707-71-11050

RING

14

01010-51860

BOLT

15

207-63-52120

ROD,PISTON

16

707-76-10130

BUSHING

17

07145-00100

SEAL,DUST

18

707-71-51050

PLUNGER

19

707-36-14460

PISTON

20

707-44-14080

RING,PISTON

21

07155-01435

RING,WEAR

22

07165-16870

NUT

23

207-63-52170

TUBE,L.H.

|23

207-63-52270

TUBE,R.H.

24

207-63-52180

TUBE,L.H.

|24

207-63-52280

TUBE,R.H.

25

07000-13035

O-RING

26

01010-51060

BOLT

27

01602-21030

WASHER,SPRING

28

07378-11000

HEAD

29

07000-13032

O-RING

30

07371-31049

FLANGE,SPLIT

31

07372-21030

BOLT

32

01602-21030

WASHER,SPRING

33

709-88-99730

BAND

34

707-88-99630

BAND

35

01010-51035

BOLT

36

01602-21030

WASHER,SPRING

37

01010-51025

BOLT

38

01602-21030

WASHER,SPRING

39

07283-23442

CLIP

40

01599-01011

NUT

41

01643-31032

WASHER

Выбрано товаров: 45