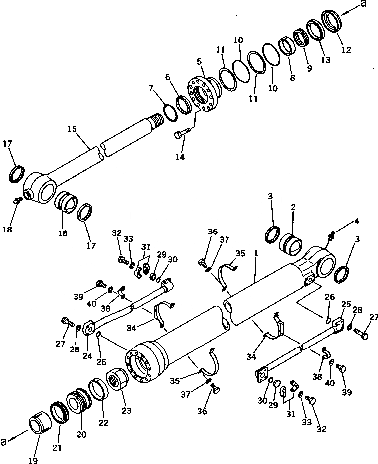
Запчасти Komatsu PC300LC-3 ЦИЛИНДР КОВША УПРАВЛ-Е РАБОЧИМ ОБОРУДОВАНИЕМ

Схема запчастей Komatsu PC300LC-3 - ЦИЛИНДР КОВША УПРАВЛ-Е РАБОЧИМ ОБОРУДОВАНИЕМ
FIT
1:1
100%

Артикул

Название

Примечание

Количество

|1

207-63-72100

BUCKET CYLINDER A.

1

207-63-72140

CYLINDER

2

207-63-76170

BUSHING

3

07145-00090

SEAL,DUST

4

07020-00000

FITTING,GREASE

5

707-28-14380

HEAD,CYLINDER

6

176-63-56170

SEAL,DUST

7

707-75-10010

RING,SNAP

8

07177-01040

BUSHING

9

707-51-10211

PACKING,ROD

10

07000-15135

O-RING

11

707-35-91440

RING,BACK-UP

12

707-71-31050

COLLAR

13

707-71-11050

RING

14

01010-51860

BOLT

15

207-63-72120

ROD,PISTON

16

207-63-76170

BUSHING

17

205-70-62180

SEAL,DUST

18

07020-00000

FITTING,GREASE

19

707-71-51050

PLUNGER

20

707-36-14460

PISTON

21

707-44-14080

RING,PISTON

22

07155-01435

RING,WEAR

23

07165-16870

NUT

24

207-63-72171

TUBE

25

207-63-72181

TUBE

26

07000-13035

O-RING

27

01010-51060

BOLT

28

01602-21030

WASHER,SPRING

29

07378-11000

HEAD

30

07000-13032

O-RING

31

07371-31049

FLANGE,SPLIT

32

07372-21030

BOLT

33

01602-21030

WASHER,SPRING

34

707-88-99720

BAND

35

707-88-99410

BAND

36

01010-51035

BOLT

37

01602-21030

WASHER,SPRING

38

07282-03411

CLAMP

39

01010-51025

BOLT

40

01602-21030

WASHER,SPRING

Выбрано товаров: 41