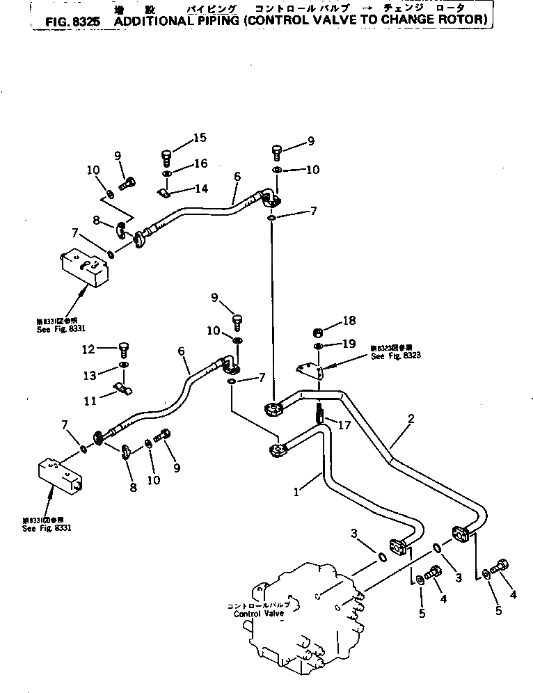
Запчасти Komatsu PC300LC-3 ДОПОЛН. ГИДРОЛИНИЯ (УПРАВЛЯЮЩ. КЛАПАН - CHANGE ROTOR) ОПЦИОННЫЕ КОМПОНЕНТЫ

Схема запчастей Komatsu PC300LC-3 - ДОПОЛН. ГИДРОЛИНИЯ (УПРАВЛЯЮЩ. КЛАПАН - CHANGE ROTOR) ОПЦИОННЫЕ КОМПОНЕНТЫ
FIT
1:1
100%

Артикул

Название

Примечание

Количество

1

207-970-3210

TUBE

2

207-970-3220

TUBE

3

21T-09-11470

O-RING

4

07372-21040

BOLT

5

01643-51032

WASHER

6

07098-01007

HOSE

7

07000-13032

O-RING

8

07371-31049

FLANGE,SPLIT

9

07372-21035

BOLT

10

01643-51032

WASHER

11

207-62-34170

CLAMP

12

01010-51030

BOLT

13

01643-31032

WASHER

14

207-62-34190

CLAMP

15

01010-51030

BOLT

16

01643-31032

WASHER

17

07283-33442

CLIP

18

01599-01011

NUT

19

01643-31032

WASHER

Выбрано товаров: 19