Запчасти Komatsu PC300LC-3 СМАЗ. GUN ОПЦИОННЫЕ КОМПОНЕНТЫ

Схема запчастей Komatsu PC300LC-3 - СМАЗ. GUN ОПЦИОННЫЕ КОМПОНЕНТЫ
FIT
1:1
100%

Артикул

Название

Примечание

Количество

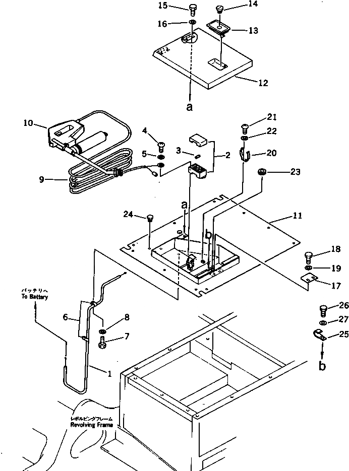
1

208-06-31150

WIRING HARNESS

2

205-06-71480

FUSE BOX

3

22W-06-13160

FUSE¤ 20A

4

01220-40620

SCREW

5

01643-30623

WASHER

6

08036-10614

CLIP

7

01010-50816

BOLT

8

01643-30823

WASHER

9

208-06-31140

WIRING HARNESS

10

208-98-31210

PUMP ASS'Y

11

208-54-31220

COVER

12

208-54-31230

COVER

13

205-54-76250

LOCK (WELDED)

14

205-54-76330

LOCK ASS'Y

15

01010-51230

BOLT

16

01643-31232

WASHER

17

208-54-31260

BRACKET

18

01010-51025

BOLT

19

01643-31032

WASHER

20

208-54-31280

CLAMP

21

01220-60612

SCREW

22

01641-20608

WASHER

23

08037-02512

GROMMET

24

203-54-32260

STOPPER

25

08036-11210

CLIP

26

01010-50816

BOLT

27

01643-30823

WASHER

Выбрано товаров: 0