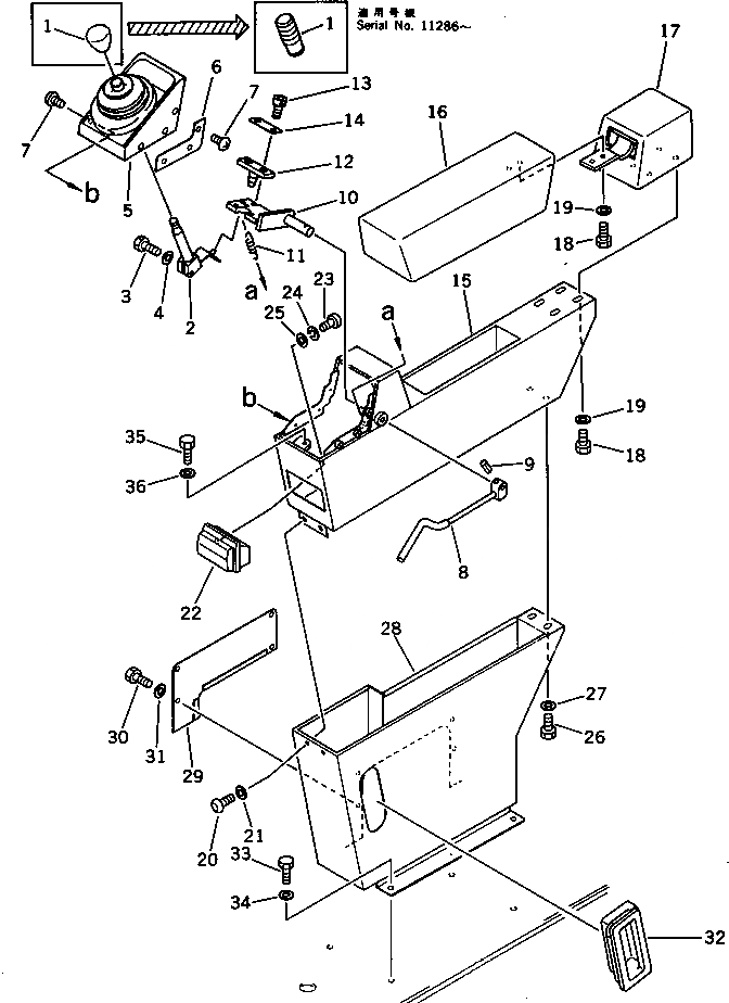
Запчасти Komatsu PC300LC-3 WRIST УПРАВЛ-Е И СТОЙКА¤ ЛЕВ. ПОВОРОТН. И СИСТЕМА УПРАВЛЕНИЯ

Схема запчастей Komatsu PC300LC-3 - WRIST УПРАВЛ-Е И СТОЙКА¤ ЛЕВ. ПОВОРОТН. И СИСТЕМА УПРАВЛЕНИЯ
FIT
1:1
100%

Артикул

Название

Примечание

Количество

1

205-43-73600

KNOB ASS'Y,(SEE FIG.4439)

|1

20D-43-11370

KNOB

2

205-43-73750

LEVER

|2

207-43-33251

LEVER

3

01010-50825

BOLT

4

01643-30823

WASHER

5

205-43-71223

BOOT

6

205-43-71991

COVER

7

205-43-71280

SCREW

8

205-43-73381

LEVER

9

04025-00520

PIN,SPRING

10

205-43-71195

LEVER

11

205-43-73340

SPRING

12

205-43-73551

PLATE

13

01252-40614

BOLT

|13

01252-40618

BOLT

14

205-43-73410

PLATE

15

205-43-71243

BOX,L.H.

16

205-43-73570

CUSHION

|16

205-43-71264

CUSHION

17

205-43-71612

COVER

18

01010-50820

BOLT

19

01643-30823

WASHER

20

198-911-3430

SCREW

21

198-911-3160

WASHER

22

205-54-72240

ASHTRAY

23

01220-40408

SCREW

24

01601-20410

WASHER,SPRING

25

01642-20405

WASHER

26

01010-50820

BOLT

27

01643-30823

WASHER

28

207-43-33220

CASE

29

205-43-71762

COVER

30

01010-50820

BOLT

31

01643-30823

WASHER

32

205-43-72480

COVER

33

01010-51225

BOLT

34

01643-31232

WASHER

35

01010-50820

BOLT

36

01643-30823

WASHER

Выбрано товаров: 40