Запчасти Komatsu PC300LC-3 АВТОМ. ЗАМЕДЛЕНИЕ ОБОРОТОВ ЦИЛИНДР (АВТОМ. ЗАМЕДЛЕНИЕ ОБОРОТОВ) КОМПОНЕНТЫ ДВИГАТЕЛЯ И ЭЛЕКТРИКА

Схема запчастей Komatsu PC300LC-3 - АВТОМ. ЗАМЕДЛЕНИЕ ОБОРОТОВ ЦИЛИНДР (АВТОМ. ЗАМЕДЛЕНИЕ ОБОРОТОВ) КОМПОНЕНТЫ ДВИГАТЕЛЯ И ЭЛЕКТРИКА
FIT
1:1
100%

Артикул

Название

Примечание

Количество

|1

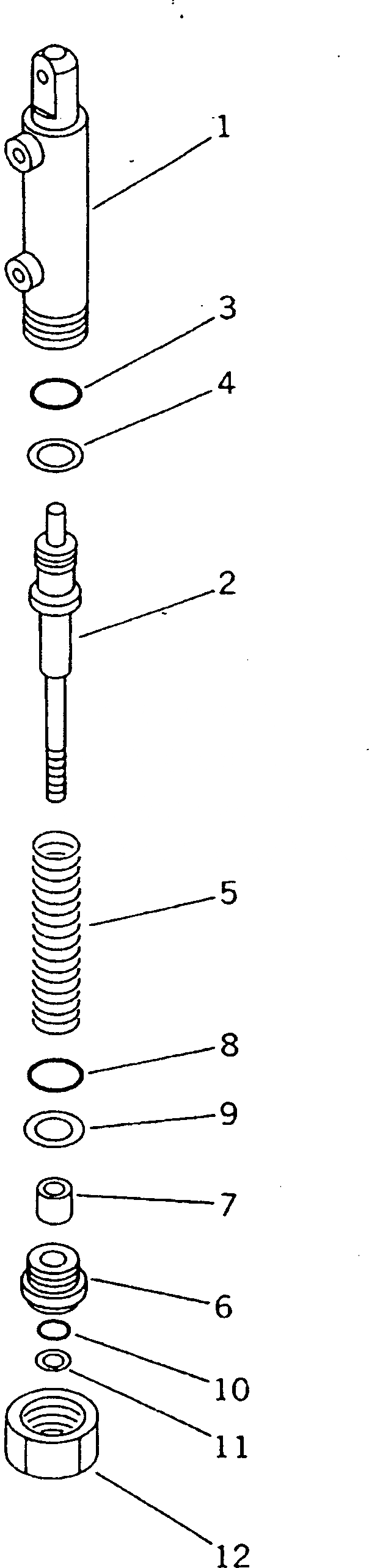
205-43-74120

CYLINDER ASS'Y

1

205-43-74130

CYLINDER

2

205-43-74140

PISTON

3

07002-12434

O-RING

4

07001-03022

RING,BACK-UP

5

205-43-74150

SPRING

6

20X-62-13612

STOPPER

7

20X-62-13622

BUSHING

8

07000-13028

O-RING

9

07001-03028

RING,BACK-UP

10

07000-12015

O-RING

11

07001-02015

RING,BACK-UP

12

20X-62-13632

NUT

Выбрано товаров: 13