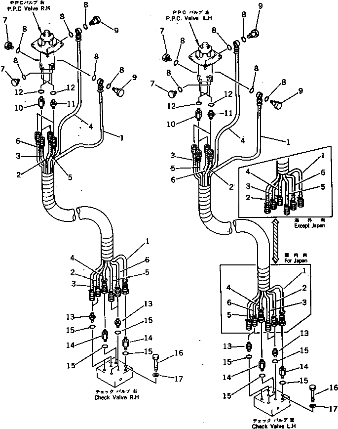
Запчасти Komatsu PC300LC-3 P.P.C. КЛАПАН ТРУБЫ (/) (ДЛЯ WRIST УПРАВЛ-Е) (АВТОМ. ЗАМЕДЛЕНИЕ ОБОРОТОВ) (С ПОВОРОТН. МЕХАНИЧ. ТОРМОЗ.) ПОВОРОТН. И СИСТЕМА УПРАВЛЕНИЯ

Схема запчастей Komatsu PC300LC-3 - P.P.C. КЛАПАН ТРУБЫ (/) (ДЛЯ WRIST УПРАВЛ-Е) (АВТОМ. ЗАМЕДЛЕНИЕ ОБОРОТОВ) (С ПОВОРОТН. МЕХАНИЧ. ТОРМОЗ.) ПОВОРОТН. И СИСТЕМА УПРАВЛЕНИЯ
FIT
1:1
100%

Артикул

Название

Примечание

Количество

|1

205-62-74160

HOSE ASS'Y

1

205-62-71640

HOSE,(RED)

2

205-62-71630

HOSE,(YELLOW)

3

205-62-71630

HOSE,(WHITE)

4

205-62-71640

HOSE,(BLUE)

5

205-62-71630

HOSE,(BLACK)

6

205-62-71630

HOSE,(GREEN)

7

205-62-74230

PLUG

8

07000-02018

O-RING

|8

07000-02018

O-RING

9

706-46-56290

BOLT,EYE

10

207-62-33951

NIPPLE

|10

207-62-33950

NIPPLE

11

205-62-55270

NIPPLE

12

07002-01423

O-RING

13

205-62-55270

NIPPLE

14

207-62-33950

NIPPLE

15

07002-01423

O-RING

16

01010-51070

BOLT

17

01643-31032

WASHER

Выбрано товаров: 20